Mechanizm do ustawiania ramy nośnej, zwłaszcza panelu fotowoltaicznego na ekranie akustycznym
Alternative title
Mechanism for positioning a supporting frame, in particular of a photovoltaic panel, on an acoustic screen
Type
Patent
Subtype
Invention
Authors/Creators
Publisher
Urząd Patentowy Rzeczypospolitej Polskiej
Date
2023
Abstract PL
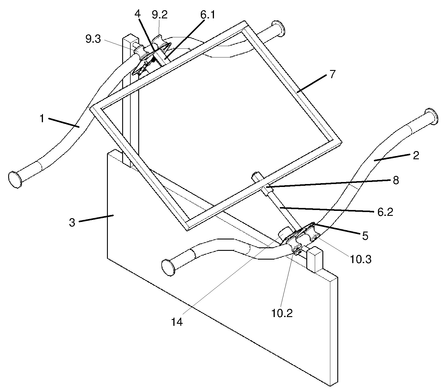
Przedmiotem zgłoszenia jest mechanizm do ustawiania ramy nośnej, zwłaszcza panelu fotowoltaicznego na ekranie akustycznym. Charakteryzuje się on tym, że składa się z dwóch prowadnic (1, 2) zamocowanych do podstawy (3), które to prowadnice (1, 2) mają kołowy przekrój poprzeczny i linie prowadzące w kształcie krzywej dzwonowej. Pierwsza prowadnica (1) zamocowana jest do podstawy (3) w taki sposób, że maksimum jej linii prowadzącej skierowane jest do góry. Druga prowadnica (2) zamocowana jest do podstawy (3) w taki sposób, że maksimum jej linii prowadzącej skierowane jest ku dołowi. Na każdej z prowadnic (1, 2) ułożone są koła wózka (4, 5) zamocowanego poprzez pręt (6.1, 6.2) do boków jednej pary przeciwlegle ułożonych boków ramy nośnej (7). Drugi pręt (6.2) zamocowany jest do ramy nośnej (7) poprzez prowadnicę liniową (8), w której umieszczony jest on przesuwnie oraz obrotowo względem jej osi.
Date of filing with the Polish Patent Office or with the competent office abroad
2023-04-13
Date of publication in ‘WUP’ or equivalent foreign bulletin
2025-10-27
Exclusive right number
Pat.248152
Statistics
Połednik, B., Guz, Ł., & Piotrowicz, A. (2023). Mechanizm do ustawiania ramy nośnej, zwłaszcza panelu fotowoltaicznego na ekranie akustycznym. Urząd Patentowy Rzeczypospolitej Polskiej. https://hdl.handle.net/20.500.14629/18712

Files
miniaturka.jpg
JPG 180.9 KB
Licence
Accessibility issue?Request a WCAG-compliant file
Publication available in collections: