Urządzenie do gięcia długich prętów stalowych gładkich i żebrowanych
Alternative title
Device for bending plain steel bars and ribbed bars
Type
Patent
Subtype
Utility model
Authors/Creators
Publisher
Urząd Patentowy Rzeczypospolitej Polskiej
Date
2011
Abstract PL
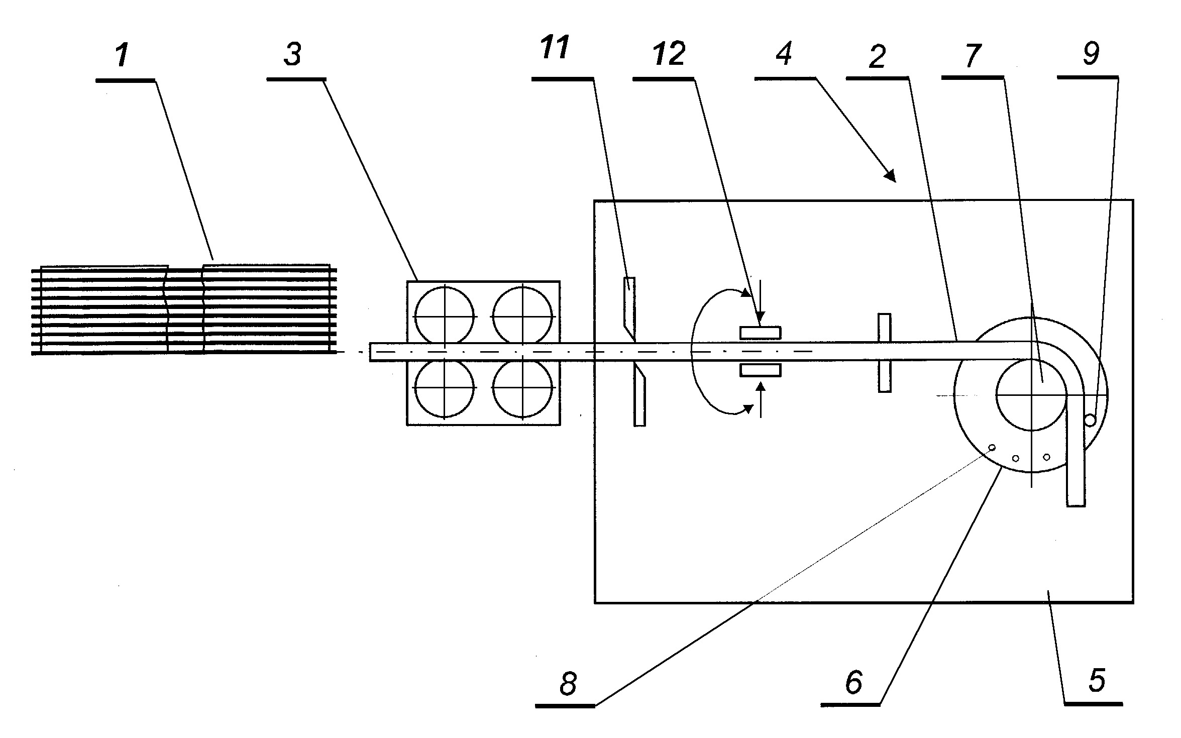
Urządzenie do gięcia długich prętów stalowych gładkich lub żebrowanych zawiera umieszczone w jednej linii system rolek (3) stanowiących podajnik prętów (2), mechanizm odcinający w postaci noża (11), element podpierający kształtowany pręt (2) oraz do wyginania pręta głowicę (4) w postaci obrotowej tarczy (6), w osi której umieszczona jest rolka (7) kształtująca oraz mimośrodowo względem rolki (7) umieszczony jest w tarczy trzpień (9) gnący. Urządzenie charakteryzuje się tym, że pomiędzy elementem podpierającym pręt (2) a nożem (11) odcinającym znajduje się uchwyt (12) szczękowy umieszczony w osi kształtowanego pręta (2) z ruchem wokół osi pręta (2) w zakresie 180°.
Date of filing with the Polish Patent Office or with the competent office abroad
2011-07-07
Date of publication in ‘WUP’ or equivalent foreign bulletin
2013-09-30
Exclusive right number
Ru.066736
Płaska, S., & Korkosz, P. (2011). Urządzenie do gięcia długich prętów stalowych gładkich i żebrowanych. Urząd Patentowy Rzeczypospolitej Polskiej. https://hdl.handle.net/20.500.14629/18113

Loading...
Files
miniaturka.jpg
JPG 200.41 KB
Licence
Accessibility issue?Request a WCAG-compliant file
Publication available in collections: