Modułowa turbina gazowa
Alternative title
Modular gas turbine
Type
Patent
Subtype
Invention
Authors/Creators
Publisher
Urząd Patentowy Rzeczypospolitej Polskiej
Date
2019
Abstract PL
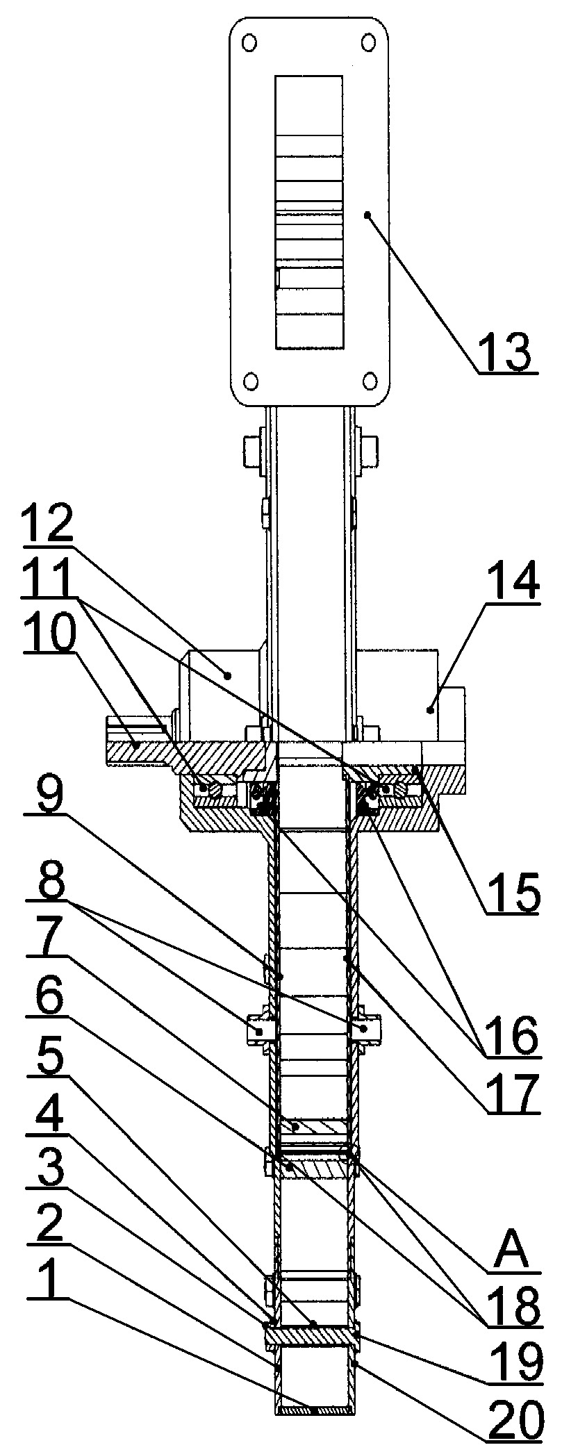
Modułowa turbina gazowa składa się z dysku górnego wirnika turbiny (9) i dysku dolnego wirnika turbiny (17), pomiędzy którymi zamocowane są za pomocą sworzni głównych i sworzni pomocniczych łopatki palisady dyszowej (7), przy czym do dysku dolnego wirnika turbiny (17) przymocowana jest tuleja (15), na której osadzone jest uszczelnienie wirnika turbiny (16) oraz łożysko (11), przymocowane do obudowy turbiny z przyłączem gazowym (14), do której przymocowane są przyłącza gazowe (8) oraz dysk zewnętrzny dolny (20) i uszczelnienie labiryntowe (18), zaś do dysku zewnętrznego dolnego (20) przymocowany jest element obudowy (1), do którego podłączone jest przyłącze odpływowe (13), przy czym do elementu obudowy (1) przymocowany jest dysk zewnętrzny górny (2), połączony z obudową turbiny z kołnierzem (12), w której osadzone są przyłącza gazowe (8) oraz uszczelnienie labiryntowe (18), a także łożysko (11) i uszczelnienie wirnika turbiny (16), które jednocześnie osadzone są na wale napędowym (10) połączonym z dyskiem górnym wirnika turbiny (9), przy czym pomiędzy obudową turbiny z kołnierzem (12) oraz obudową turbiny z przyłączem gazowym (14) znajdują się łopatki palisady dyfuzorowej (6), zaś pomiędzy dyskiem zewnętrznym górnym (2) i dyskiem zewnętrznym dolnym (20) znajdują się tuleje (5), w których osadzone są śruby (19), do których zamocowane są nakrętki (3) z podkładkami (4).
Date of filing with the Polish Patent Office or with the competent office abroad
2019-03-27
Date of publication in ‘WUP’ or equivalent foreign bulletin
2022-09-05
Exclusive right number
Pat.241294
Statistics
Wendeker, M., & Paszko, M. (2019). Modułowa turbina gazowa. Urząd Patentowy Rzeczypospolitej Polskiej. https://hdl.handle.net/20.500.14629/17685

Loading...
Files
miniaturka.jpg
JPG 236.71 KB
Licence
Accessibility issue?Request a WCAG-compliant file
Publication available in collections: