Uchwyt do mocowania belek o warunkach brzegowych typu zawias-zawias na wzbudniku elektromechanicznym
Alternative title
Holder for mounting beams with hinge-hinge type boundary conditions on an electromechanical exciter
Type
Patent
Subtype
Invention
Authors/Creators
Publisher
Urząd Patentowy Rzeczypospolitej Polskiej
Date
2021
Abstract PL
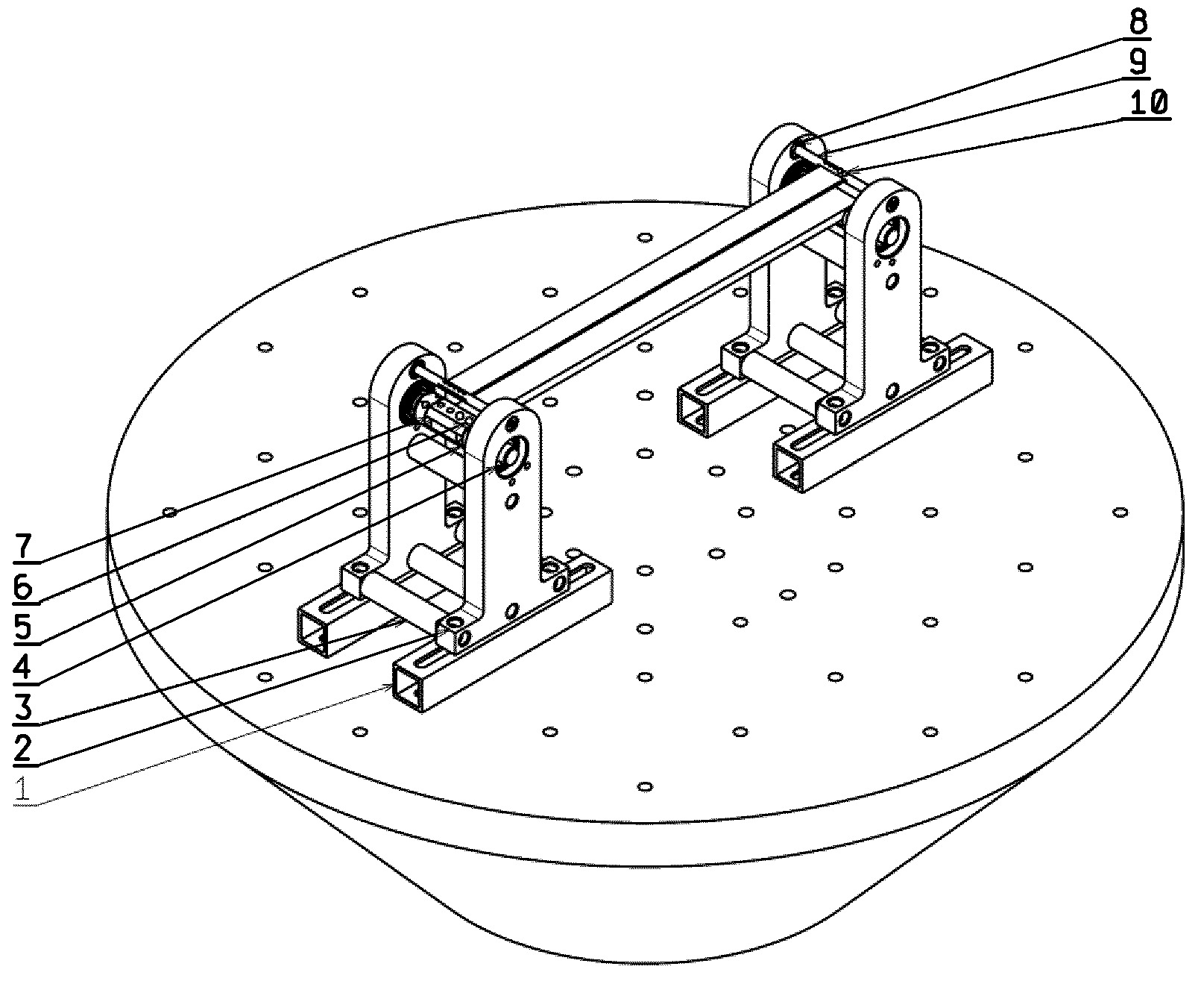
Przedmiotem wynalazku jest uchwyt do mocowania belek na wzbudniku elektromechanicznym o regulowanej długości. Charakteryzuje się on tym, że składa się z dwóch par profili które są ułożone do siebie równolegle parami i zamocowane są rozłącznie do uchwytu wzbudnika. Każdy z profili posiada przelotowy otwór. Do każdego z profili zamocowana jest rozłącznie płyta mocująca (2). Pomiędzy parami płyt mocujących (2) znajdują się tuleje dystansujące (3) oraz w każdej z płyt (2) znajduje się pierwszy otwór przelotowy z zamocowanym w nim pierwszym łożyskiem (4). W każdej parze pierwszych łożysk (4) zamocowane są końce wałka zaciskającego (5) z rowkiem biegnącym wzdłuż jego osi, w którego podstawie znajdują się otwory montażowe z wkręconymi w nie śrubami (6) z osadzoną na nich blachą dociskającą (7). Nad pierwszym otworem w każdej z płyt (2) znajduje się drugi otwór przelotowy, w którym zamocowane jest drugie łożysko (8). W każdej parze drugich łożysk (8) zamocowane są końce wałka (9) z przelotowym rowkiem biegnącym wzdłuż jego osi oraz prostopadle ułożonymi do niego otworami na śruby montażowe (10).
Date of filing with the Polish Patent Office or with the competent office abroad
2021-08-30
Date of publication in ‘WUP’ or equivalent foreign bulletin
2022-05-02
Exclusive right number
Pat.240575
Statistics
Kłoda, Ł., & Warmiński, J. (2021). Uchwyt do mocowania belek o warunkach brzegowych typu zawias-zawias na wzbudniku elektromechanicznym. Urząd Patentowy Rzeczypospolitej Polskiej. https://hdl.handle.net/20.500.14629/17975

Files
miniaturka.jpg
JPG 271.14 KB
Licence
Accessibility issue?Request a WCAG-compliant file
Publication available in collections: