Mechanizm wychylania tablic reklamowych i ich obrotu, i ich odchylania
Alternative title
Mechanism for tilting and rotating billboards and their deflection
Type
Patent
Subtype
Invention
Authors/Creators
Publisher
Urząd Patentowy Rzeczypospolitej Polskiej
Date
2023
Abstract PL
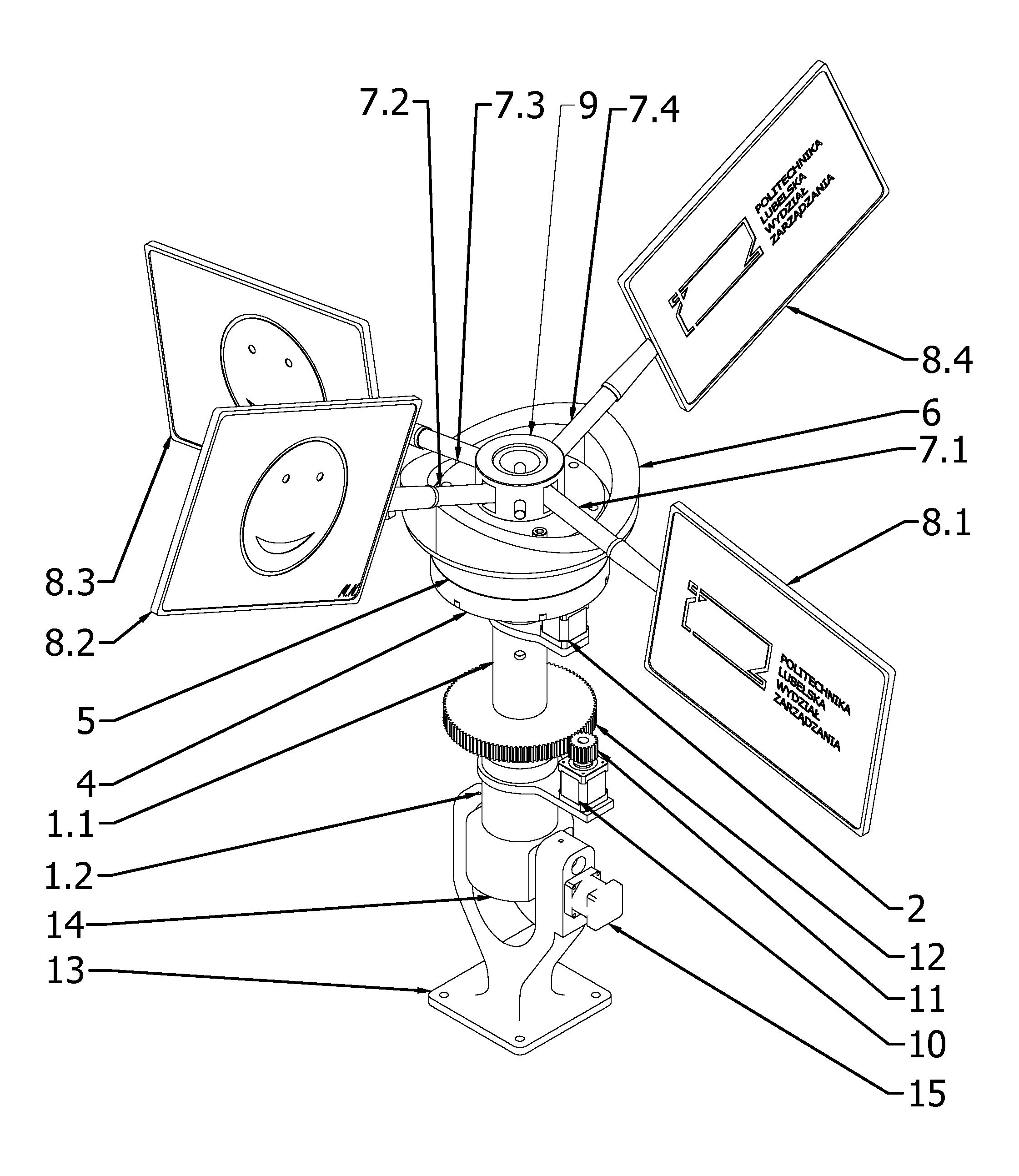
Przedmiotem zgłoszenia jest mechanizm wychylania tablic reklamowych i ich obrotu, i ich odchylania, który zawiera słup (1.1), do którego zamocowany jest silnik elektryczny (2). Charakteryzuje się on tym, że na wale silnika elektrycznego (2), ułożonego równolegle do słupa (1.1) zamocowane jest pierwsze zewnętrzne koło zębate zazębione z wewnętrznym kołem zębatym (4), w osi którego znajduje się słup. Wewnętrzne koło zębate (4) połączone jest nieobrotowo swoją górną podstawą z dolną podstawą pierwszej tulei (5) ułożyskowanej na słupie (1.1), której górna podstawa połączona jest z dolną podstawą tulei krzywkowej (6), w osi której znajduje się słup (1.1). Górna powierzchnia tulei krzywkowej (6) jest powierzchnią krzywkową, z którą styka się powierzchnia boczna pręta (7.1, 7.2, 7.3, 7.4). Na jego pierwszym końcu zamocowana jest na stałe tablica reklamowa (8.1, 8.2, 8.3, 8.4). Drugi koniec pręta (7.1, 7.2, 7.3, 7.4) zamocowany jest za pomocą zawiasu znajdującego się w tulei mocującej (9), która zamocowana jest nieobrotowo na słupie (1.1). Słup (1.1) zamocowany jest dolną częścią współosiowo i obrotowo w dolnym słupie (1.2), do którego zamocowany jest drugi silnik elektryczny (10) o osi wału ułożonej równolegle do osi słupa (1.1) i osi drugiego słupa (1.2). Na wale drugiego silnika elektrycznego (10), zamocowane jest drugie koło zębate (11) zazębione z trzecim kołem zębatym (12) zamocowanym współosiowo i nieobrotowo do słupa (1.1). Drugi słup (1.2) zamocowany jest w podstawie (13) mechanizmu posiadającej dwa równoległe ramiona, pomiędzy którymi zamocowany jest uchylnie uchwyt (14), który połączony jest z podstawą (13) za pomocą trzpieni zamocowanych współosiowo w bocznych ścianach uchwytu (14) i zamocowanych obrotowo w otworach znajdujących się w podstawie (13), tudzież do bocznej ściany podstawy (13) zamocowany jest trzeci silnik elektryczny (15) z wałem znajdującym się w wybraniu ściany bocznej podstawy (13), przy czym do wału trzeciego silnika elektrycznego (15) zamocowane jest koło (16) ze znajdującym się od strony jego podstawy trzpieniem, ułożonym niewspółosiowo do osi koła (16), natomiast trzpień znajduje się w rowku prowadzącym znajdującym się w ścianie bocznej uchwytu (14), zaś dłuższe ściany rowka prowadzącego są ułożone wzdłuż osi dolnego słupa (1.2).
Date of filing with the Polish Patent Office or with the competent office abroad
2023-12-19
Date of publication in ‘WUP’ or equivalent foreign bulletin
2025-03-17
Exclusive right number
Pat.246874
Skowron, Ł., Gąsior, M., Cholewa-Wiktor, M., Jusiuk, P., Laskowska, A., Wyrwisz, J., & Dziwulski, J. (2023). Mechanizm wychylania tablic reklamowych i ich obrotu, i ich odchylania. Urząd Patentowy Rzeczypospolitej Polskiej. https://hdl.handle.net/20.500.14629/18522

Files
miniaturka.jpg
JPG 558.81 KB
Licence
Accessibility issue?Request a WCAG-compliant file
Publication available in collections: