Wiatrak reklamowy wychylany i podnoszony
Alternative title
Tilting and lifting advertising fan
Type
Patent
Subtype
Invention
Authors/Creators
Publisher
Urząd Patentowy Rzeczypospolitej Polskiej
Date
2023
Abstract PL
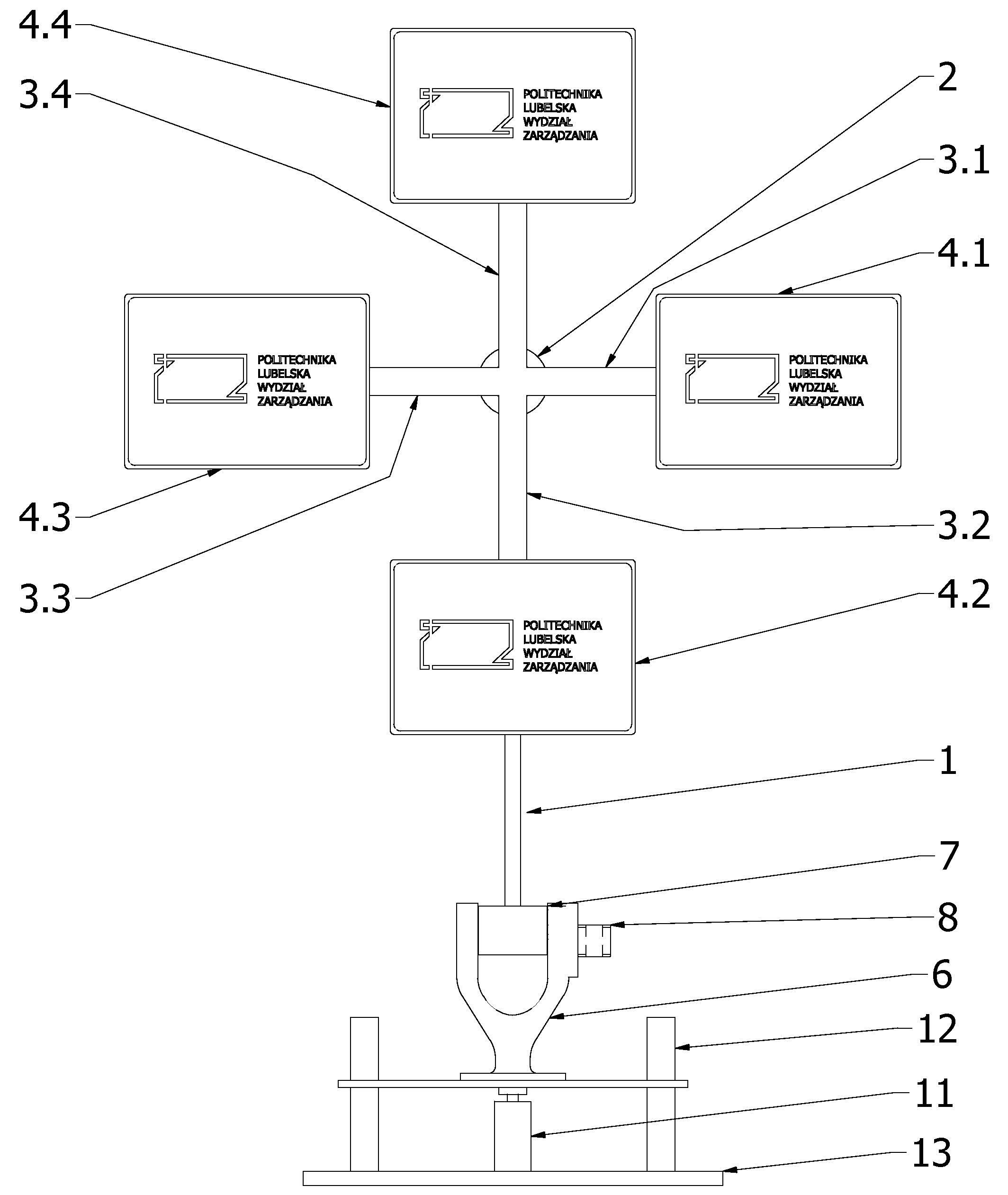
Przedmiotem zgłoszenia jest wiatrak reklamowy wychylany i podnoszony, zamocowany na słupie (1), do którego zamocowany jest pierwszy silnik elektryczny (2). Charakteryzuje się on tym, że na wale pierwszego silnika elektrycznego (2), o osi ułożonej prostopadle do osi słupa (1) zamocowane są pierwszymi końcami ramiona (3.1, 3.2, 3.3, 3.4). Oś każdego z ramion (3.1, 3.2, 3.3, 3.4) ułożona jest prostopadle do osi silnika (2). W drugiej końcowej części każdego z ramion (3.1, 3.2, 3.3, 3.4) zamocowana jest obrotowo tablica reklamowa (4.1, 4.2, 4.3, 4.4), o osi obrotu ułożonej równolegle do osi pierwszego silnika elektrycznego (2). W dolnej części każdej z tablic reklamowych (4.1, 4.2, 4.3, 4.4) zamocowany jest obciążnik. Słup (1) zamocowany jest w podstawie (6) mechanizmu posiadającej dwa równoległe ramiona, pomiędzy którymi zamocowany jest uchylnie uchwyt (7), który połączony jest z pierwszą podstawą (6) za pomocą trzpieni zamocowanych współosiowo w bocznych ścianach uchwytu (7) i zamocowanych obrotowo w otworach znajdujących się w podstawie (6). Do bocznej ściany pierwszej podstawy (6) zamocowany jest drugi silnik elektryczny (8) z wałem znajdującym się w wybraniu ściany bocznej pierwszej podstawy (6). Do wału drugiego silnika elektrycznego (8) zamocowane jest koło (9) ze znajdującym się od strony jego podstawy trzpieniem, ułożonym niewspółosiowo do osi koła (9). Trzpień znajduje się w rowku prowadzącym znajdującym się w ścianie bocznej uchwytu (7), zaś dłuższe ściany rowka prowadzącego są ułożone wzdłuż osi słupa (1). Pierwsza podstawa (6) zamocowana jest za pomocą siłownika (11) i słupy prowadzące (12) do drugiej podstawy (13).
Date of filing with the Polish Patent Office or with the competent office abroad
2023-10-27
Date of publication in ‘WUP’ or equivalent foreign bulletin
2024-12-16
Exclusive right number
Pat.246219
Statistics
Skowron, Ł., Gąsior, M., Laskowska, A., Kłosowski, G., Laskowski, J. F., Maciaszczyk, M., & Skowron, S. (2023). Wiatrak reklamowy wychylany i podnoszony. Urząd Patentowy Rzeczypospolitej Polskiej. https://hdl.handle.net/20.500.14629/18093

Files
miniaturka.jpg
JPG 259.81 KB
Licence
Accessibility issue?Request a WCAG-compliant file
Publication available in collections: