Połączenie zatrzaskowe tulejowe
Alternative title
Sleeve snap connection
Type
Patent
Subtype
Invention
Authors/Creators
Publisher
Urząd Patentowy Rzeczypospolitej Polskiej
Date
2019
Abstract PL
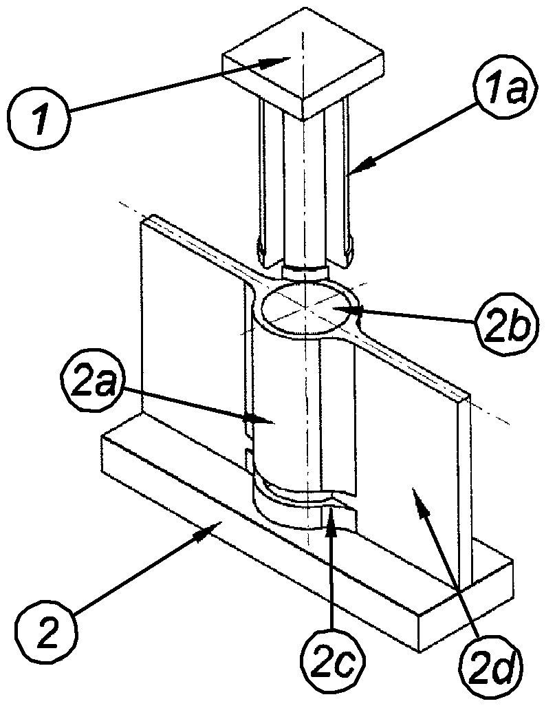
Celem zgłoszenia jest uzyskanie połączenia zatrzaskowego dla konstrukcji cienkościennych, polegającego na wykorzystaniu odpowiednio ukształtowanych i wzajemnie dopasowanych elementów łączonych. Połączenie zatrzaskowe tulejowe charakteryzuje się tym, że składa się z pierwszej części (1) w postaci płyty, do której dolnej powierzchni zamocowane są stopniowane występy (1a) o przekroju w kształcie wycinka koła o pierwszym promieniu R1 rozmieszczone stycznie do obwodu okręgu o średnicy d. W dolnej części każdy stopniowany występ (1a) ma wysokość h1 i posiada przekrój w kształcie wycinka koła o drugim promieniu R2 większym od pierwszego promienia R1. Połączenie zatrzaskowe składa się również z drugiej części (2) w postaci płyty, do której górnej powierzchni zamocowana jest tuleja (2a), która zawiera otwór (2b) o trzecim promieniu R3 mniejszym od drugiego promienia R2 i nieznacznie większym od pierwszego promienia R1 występu (1a), w dolnej części tulei (2a) znajduje się symetrycznie po każdej jej stronie przelotowy rowek (2c) o wysokości h2. Na obwodzie okręgu znajduje się od trzech do sześciu stopniowanych występów (1a). Elementy połączenia są wykonane z materiału o zakresie współczynnika sprężystości E od 60 do 220 GPa.
Date of filing with the Polish Patent Office or with the competent office abroad
2019-12-05
Date of publication in ‘WUP’ or equivalent foreign bulletin
2021-03-22
Exclusive right number
Pat.237216
Statistics
Kuczmaszewski, J., Pieśko, P., Zagórski, I., Leleń, M., Warda, T., & Zawada-Michałowska, M. (2019). Połączenie zatrzaskowe tulejowe. Urząd Patentowy Rzeczypospolitej Polskiej. https://hdl.handle.net/20.500.14629/17803

Files
miniaturka.jpg
JPG 121.66 KB
Licence
Accessibility issue?Request a WCAG-compliant file
Publication available in collections: