Sposób kucia półfabrykatu w przyrządzie kuźniczym na prasie hydraulicznej, zwłaszcza do wytwarzania mocowania lotniczego
Alternative title
Method of forging a semi-finished product in a forging device on a hydraulic press, in particular for producing an aerospace fastener
Type
Patent
Subtype
Invention
Authors/Creators
Publisher
Urząd Patentowy Rzeczypospolitej Polskiej
Date
2019
Abstract PL
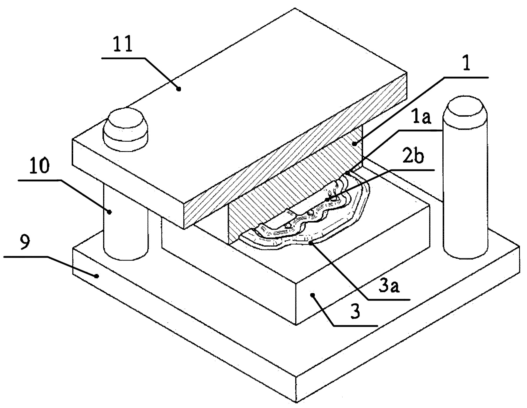
Sposób kucia półfabrykatu w przyrządzie kuźniczym na prasie hydraulicznej, zwłaszcza do wytwarzania mocowania lotniczego polega na tym, że wkładki matrycowe górną (1) i dolną (3) posiadające w części środkowej wykroje robocze (1a i 3a) montuje się do płyt oporowych górnej (11) i dolnej (9) w przyrządzie kuźniczym na prasie hydraulicznej o nacisku 3000 kN i nagrzewa się przy użyciu palników gazowych do temperatury 300°C, po czym materiał wsadowy w kształcie przedkuwki kształtowej odlewanej w formach piaskowych z mniej plastycznych stopów magnezu z grupy magnez-aluminium-cynk nagrzewa się w piecu w zakresie temperatur 400 - 430°C, korzystnie 420°C, w czasie do 45 minut, następnie nagrzany materiał wsadowy umieszcza się w wykroju roboczym (3a) wkładki matrycowej dolnej (3), po czym naciska się prasą hydrauliczną płytę oporową górną (11) posiadającą dwa jednakowe okrągłe przelotowe otwory prowadzące za pomocą dwóch jednakowych kołków prowadzących (10) znajdujących się na płycie oporowej dolnej i wprawia się wkładkę matrycową górną (1) przyrządu kuźniczego w ruch postępowy w dół z prędkością do 15 mm/s w kierunku wkładki matrycowej dolnej (3) i zgniata się materiał wsadowy wykrojem roboczym (1a) wkładki matrycowej górnej (1) i wykrojem roboczym (3a) wkładki matrycowej dolnej (3) i kształtuje się półfabrykat (2b) z mniejszym stopniem przekucia.
Date of filing with the Polish Patent Office or with the competent office abroad
2019-11-14
Date of publication in ‘WUP’ or equivalent foreign bulletin
2021-05-31
Exclusive right number
Pat.237781
Statistics
Surdacki, P., Dziubińska, A., Winiarski, G., Majerski, K., & Szucki, M. (2019). Sposób kucia półfabrykatu w przyrządzie kuźniczym na prasie hydraulicznej, zwłaszcza do wytwarzania mocowania lotniczego. Urząd Patentowy Rzeczypospolitej Polskiej. https://hdl.handle.net/20.500.14629/18022

Loading...
Files
miniaturka.jpg
JPG 304.31 KB
Licence
Accessibility issue?Request a WCAG-compliant file
Publication available in collections: