Połączenie zatrzaskowe
Alternative title
Snap connection
Type
Patent
Subtype
Invention
Authors/Creators
Publisher
Urząd Patentowy Rzeczypospolitej Polskiej
Date
2019
Abstract PL
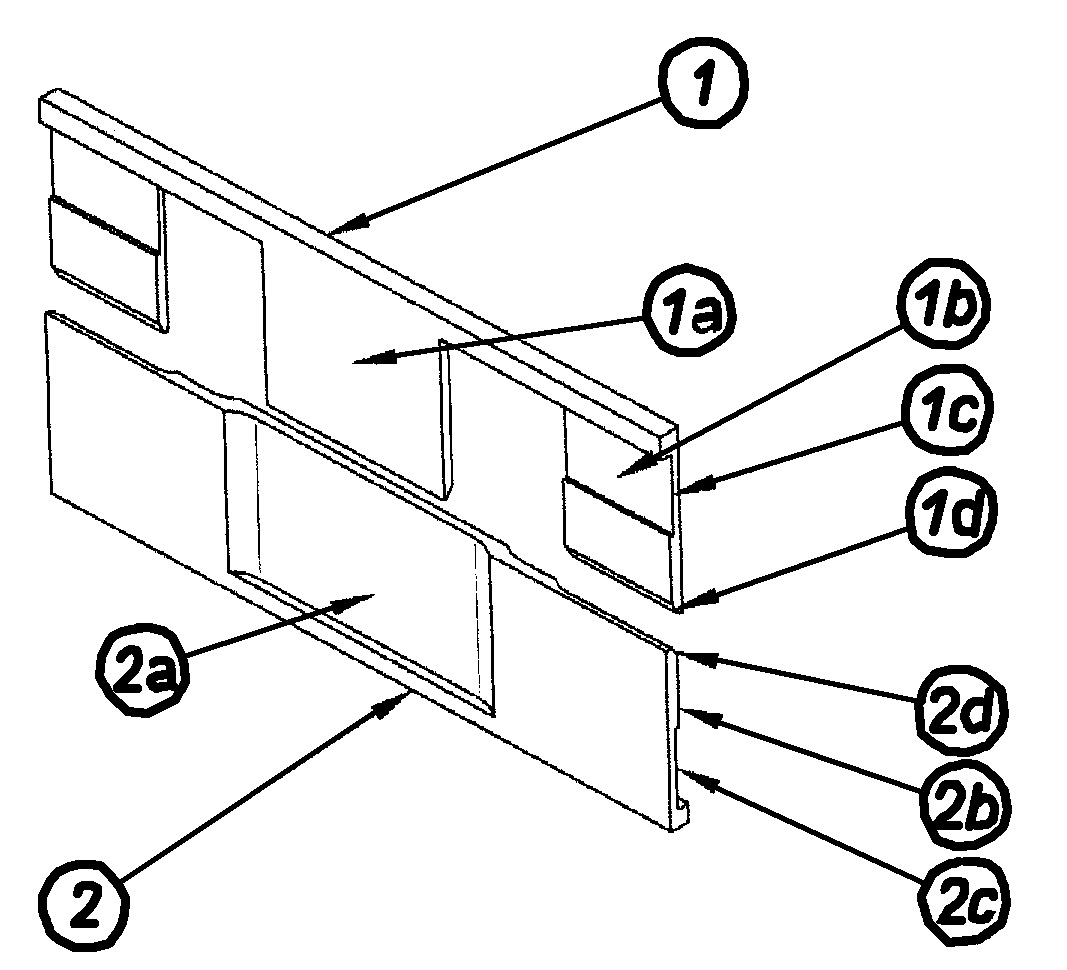
Celem zgłoszenia jest uzyskanie połączenia zatrzaskowego dla konstrukcji cienkościennych, polegającego na wykorzystaniu odpowiednio ukształtowanych i wzajemnie dopasowanych elementów łączonych. Połączenie zatrzaskowe charakteryzuje się tym, że składa się z elementu (1) posiadającej w swojej środkowej części pierwszy występ (1a) w kształcie płyty. Symetrycznie po każdej stronie pierwszego występu (1a) znajduje się drugi występ (1b) w kształcie płyty, który w górnej części od strony listwy (1) zawiera pierwszy rowek (1c). W dolnej części drugiego występu (1b) znajduje się faza (1d). Druga część połączenia zatrzaskowego składa się z płyty (2), która w środkowej części na pierwszej głównej ścianie posiada pierwsze zagłębienie (2a). Na drugiej głównej ścianie symetrycznie po każdej stronie pierwszego zagłębienia (2a) znajduje się drugie zagłębienie (2b) posiadające drugi rowek (2c) i fazę (2d). Korzystnie kształt przekroju poprzecznego drugiego występu (1b) jest identyczny jak kształt przekroju poprzecznego drugiego zagłębienia (2b). Wskazane jest gdy elementy połączenia są wykonane z materiału o zakresie współczynnika sprężystości E od 60 do 220 GPa.
Date of filing with the Polish Patent Office or with the competent office abroad
2019-12-05
Date of publication in ‘WUP’ or equivalent foreign bulletin
2021-03-22
Exclusive right number
Pat.237215
Statistics
Kuczmaszewski, J., Pieśko, P., Zagórski, I., Leleń, M., Warda, T., & Zawada-Michałowska, M. (2019). Połączenie zatrzaskowe. Urząd Patentowy Rzeczypospolitej Polskiej. https://hdl.handle.net/20.500.14629/17802

Loading...
Files
miniaturka.jpg
JPG 144.34 KB
Licence
Accessibility issue?Request a WCAG-compliant file
Publication available in collections: