Układ uplastyczniający wytłaczarki jednoślimakowej
Alternative title
Flow system of the single-screw extruding press
Type
Patent
Subtype
Invention
Authors/Creators
Publisher
Urząd Patentowy Rzeczypospolitej Polskiej
Date
2015
Abstract PL
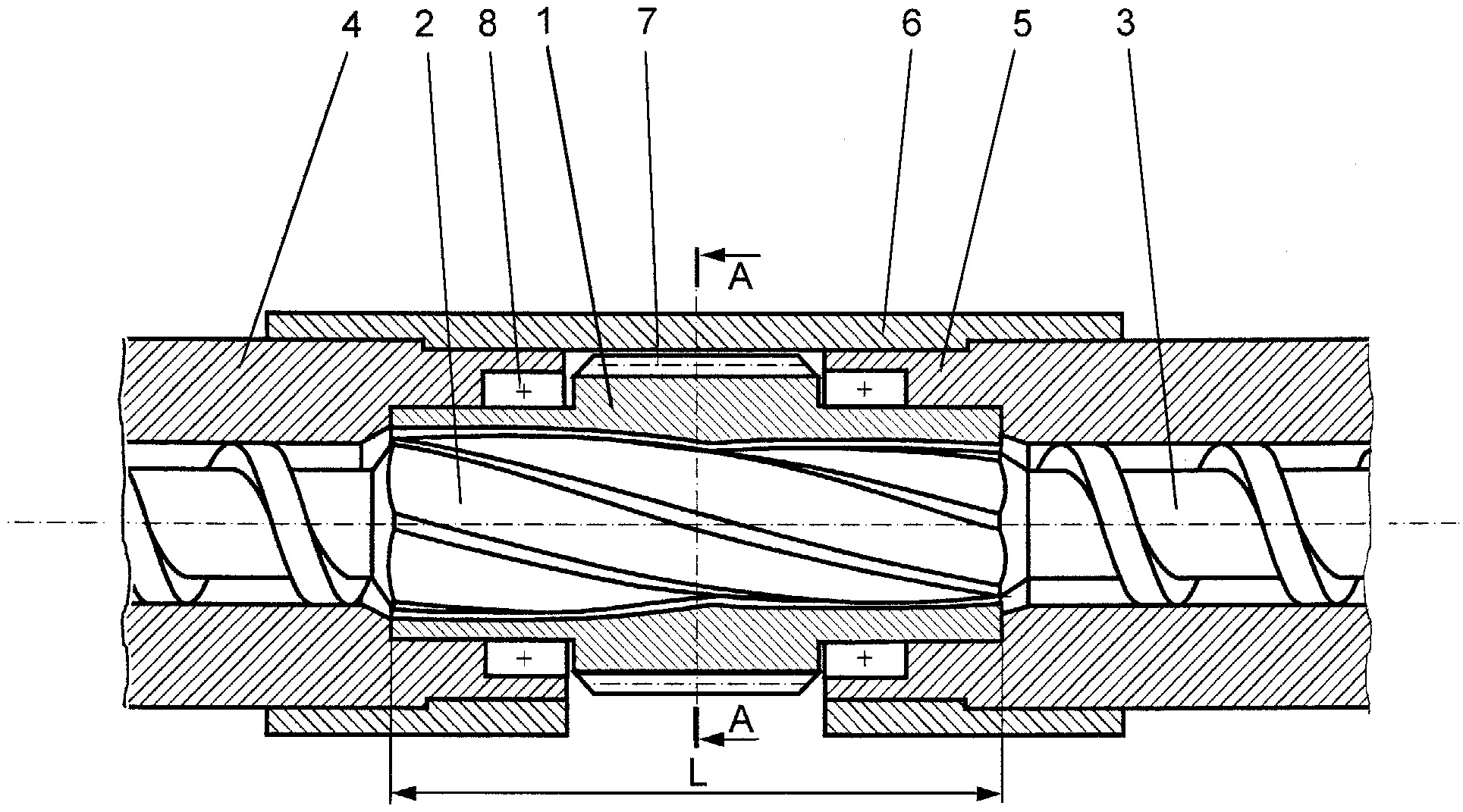
Układ uplastyczniający wytłaczarki jednoślimakowej do tworzyw polimerowych, posiada w strefie dozowania aktywny przetwórcze segment ścinająco - mieszający o długości L, która wynosi od 1 do 8 krotnej średnicy zewnętrznej ślimaka przetwórczego. Segment utworzony jest przez współdziałające ze sobą korzystnie, element (1) obrotowy cylindra, którego otwór przelotowy ma kształt ostrosłupa ściętego, o podstawach w kształcie wielokątów foremnych skręconych względem siebie pod kątem od 0,02 rad do 50,26 rad oraz element (2) geometryczny, stanowiący konstrukcyjną część składową ślimaka (3) przetwórczego również mający kształt ostrosłupa ściętego, którego podstawy w kształcie wielokątów foremnych są skręcone względem siebie pod kątem od 0,02 rad do 50,26 rad. Element (1) obrotowy cylindra wykonuje obroty w jedną lub drugą stronę zmienne, co do wartości w zależności od potrzeb przetwórczych.
Date of filing with the Polish Patent Office or with the competent office abroad
2015-02-20
Date of publication in ‘WUP’ or equivalent foreign bulletin
2017-05-31
Exclusive right number
Pat.225775
Statistics
Sasimowski, E. (2015). Układ uplastyczniający wytłaczarki jednoślimakowej. Urząd Patentowy Rzeczypospolitej Polskiej. https://hdl.handle.net/20.500.14629/17140

Files
miniaturka.jpg
JPG 483.83 KB
Licence
Accessibility issue?Request a WCAG-compliant file
Publication available in collections: