Sposób kształtowania plastycznego wyrobów ze zgrubieniami skrajnymi metodą walcowania klinami płaskimi
Alternative title
Method for plastic forming of products with side bosses by rolling with flat wedges
Type
Patent
Subtype
Invention
Authors/Creators
Publisher
Urząd Patentowy Rzeczypospolitej Polskiej
Date
2011
Abstract PL
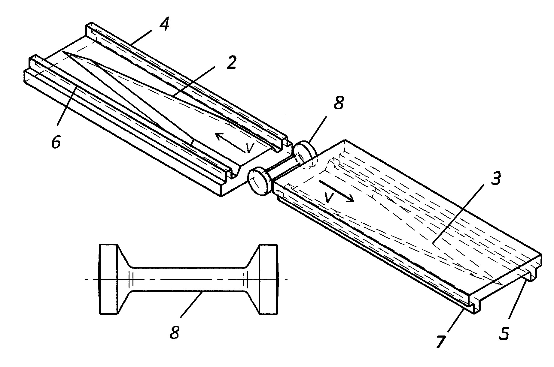
Sposób kształtowania plastycznego wyrobów ze zgrubieniami skrajnymi metodą walcowania klinami płaskimi, zwłaszcza typu stopniowanych osi i wałków, charakteryzuje się tym, że półfabrykat w kształcie odcinka pręta o średnicy mniejszej od średnicy zgrubienia i większej od średnicy najmniejszego stopnia wyrobu umieszcza się między dwoma płaskimi narzędziami (2) i (3) klinowymi, mającymi po bokach listwy (4), (5), (6) i (7) oporowe, które wprowadza się w ruch przeciwbieżny z taką samą prędkością (V), przy czym przemieszczające się narzędzia (2) i (3) klinowe wcinają się w półfabrykat, wprawiają go w ruch obrotowy z prędkością, redukują jego średnicę i wywołują przemieszczenie materiału w kierunku osiowym, które ograniczone jest przez listwy (4), (5), (6) i (7) oporowe rozmieszczone równolegle do kierunku przemieszczania się narzędzi klinowych, które działając na materiał powodują jego spęczenie z obu stron wyrobu (8) i utworzenie zgrubień o średnicy większej od średnicy półfabrykatu. Proces realizowany jest w układzie, w którym jedno narzędzie (2) lub (3) klinowe wraz z umieszczoną równolegle do niego listwą (4) lub (5) oporową lub listwami (4) i (6) lub (5) i (7) oporowymi wykonuje ruch posuwisty z prędkością (V) i kształtuje wyrób (8), zaś drugie narzędzie (2) lub (3) jest stałe.
Date of filing with the Polish Patent Office or with the competent office abroad
2011-03-08
Date of publication in ‘WUP’ or equivalent foreign bulletin
2014-02-28
Exclusive right number
Pat.215890
Statistics
Pater, Z., & Tofil, A. (2011). Sposób kształtowania plastycznego wyrobów ze zgrubieniami skrajnymi metodą walcowania klinami płaskimi. Urząd Patentowy Rzeczypospolitej Polskiej. https://hdl.handle.net/20.500.14629/17070

Loading...
Files
miniaturka.jpg
JPG 271.97 KB
Licence
Accessibility issue?Request a WCAG-compliant file
Publication available in collections: