Połączenie rurowo-kształtowe
Alternative title
Shaped pipe joint
Type
Patent
Subtype
Invention
Authors/Creators
Publisher
Urząd Patentowy Rzeczypospolitej Polskiej
Date
2017
Abstract PL
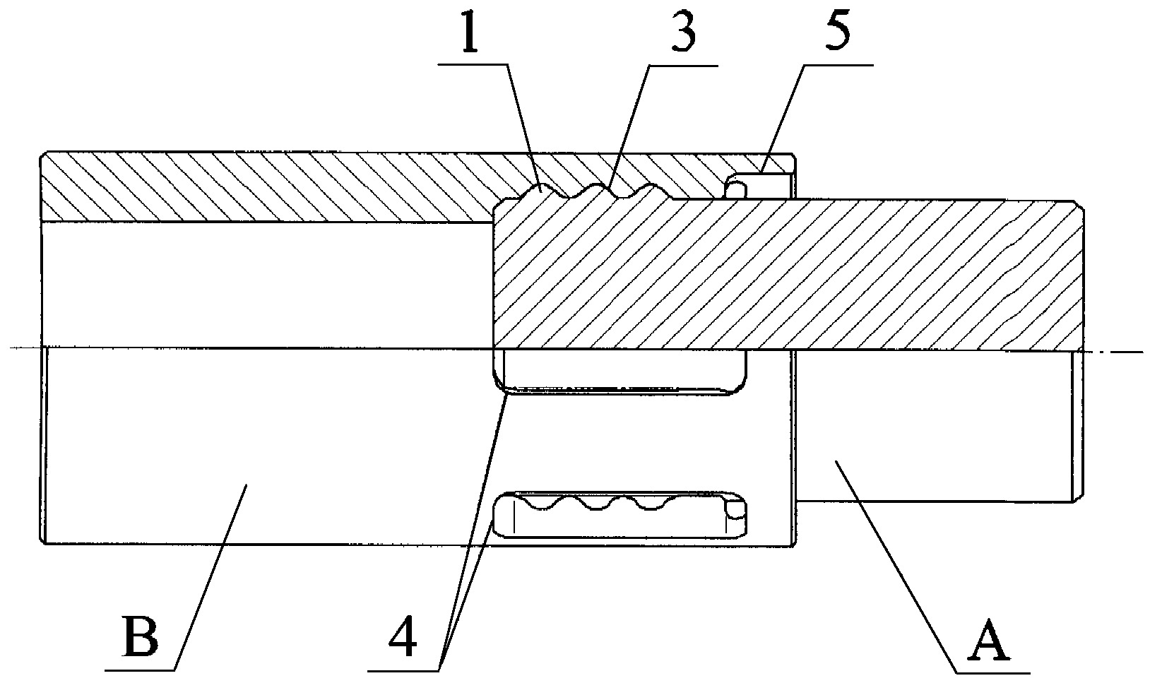
Przedmiotem zgłoszenia jest połączenie rurowo-kształtowe składające się z dwóch elementów, będące połączeniem bezpośrednim, rozłącznym, które umożliwia przenoszenie sił osiowych. Charakteryzuje się tym, że posiada element (A) wewnętrzny w kształcie walca, umieszczany w elemencie (B) zewnętrznym w kształcie rury. Element (A) wewnętrzny posiada na powierzchni zewnętrznej od czoła co najmniej trzy występy (1) krzywoliniowe, zaś na obwodzie elementu (A) wewnętrznego znajduje się od 2 do 6 rzędów występów (1) krzywoliniowych. Element (B) zewnętrzny ma na powierzchni wewnętrznej co najmniej trzy rowki poprzeczne (3) oraz kieszenie (4) w kształcie prostokąta w ilości od 2 do 6, a od czoła elementu (B) zewnętrznego znajduje się otwór (5), którego średnica jest większa od wymiaru gabarytowego elementu (A) wewnętrznego.
Date of filing with the Polish Patent Office or with the competent office abroad
2017-10-09
Date of publication in ‘WUP’ or equivalent foreign bulletin
2019-09-30
Exclusive right number
Pat.233160
Włodarczyk, M., & Dziak, P. (2017). Połączenie rurowo-kształtowe. Urząd Patentowy Rzeczypospolitej Polskiej. https://hdl.handle.net/20.500.14629/17533

Loading...
Files
miniaturka.jpg
JPG 171.73 KB
Licence
Accessibility issue?Request a WCAG-compliant file
Publication available in collections: