Stanowisko laboratoryjne
Alternative title
Laboratory work station
Type
Patent
Subtype
Utility model
Authors/Creators
Publisher
Urząd Patentowy Rzeczypospolitej Polskiej
Date
2022
Abstract PL
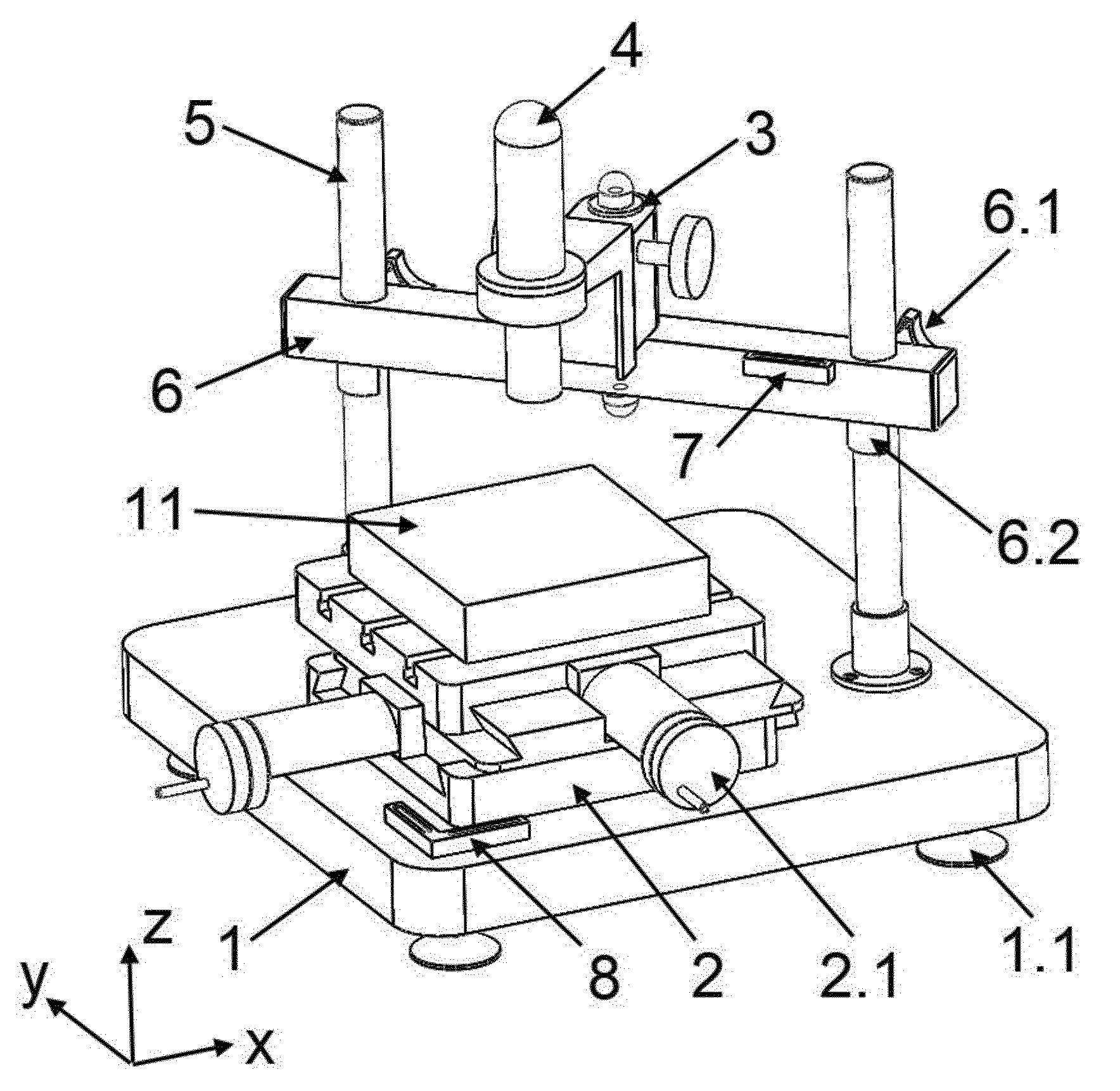
Przedmiotem wzoru użytkowego jest stanowisko laboratoryjne umożliwiające montaż głowicy mikroskopu cyfrowego oraz prowadzenie skoordynowanych obserwacji mikroskopowych na obszarze przekraczającym pole widzenia samego mikroskopu. Posiada ono stół (1) z redukowaną wysokością nóg (1.1), stół krzyżowy (2), uchwyt (3) mikroskopu (4). Charakteryzuje się on tym, że do stołu (1) zamocowane są pionowo dwie kolumny (5), pomiędzy którymi zamocowana jest przesuwnie belka (6) ustalana za pomocą śrub (6.1) i stopka siodełkowa (6.2). Na belce zamocowany jest uchwyt (3) mikroskopu (4) z regulacją jego położenia w osi pionowej. Na stole (1), pomiędzy kolumnami (5) zamocowany jest stół krzyżowy (2) z dwoma śrubami mikrometrycznymi (2.1) ustalającymi jego położenie. W odmianie wykonania stołu do śruby mikrometrycznej (2.1) zamocowany jest silnik krokowy. Korzystnie na belce (6) zamocowana jest pierwsza poziomica (7) zaś na stole (1) zamocowana jest druga poziomica (8).
Date of filing with the Polish Patent Office or with the competent office abroad
2022-02-22
Date of publication in ‘WUP’ or equivalent foreign bulletin
2024-07-01
Exclusive right number
Ru.073486
Statistics
Grzegorczyk-Frańczak, M., Golewski, P., & Sadowski, T. (2022). Stanowisko laboratoryjne. Urząd Patentowy Rzeczypospolitej Polskiej. https://hdl.handle.net/20.500.14629/18178

Files
miniaturka.jpg
JPG 544.73 KB
Licence
Accessibility issue?Request a WCAG-compliant file
Publication available in collections: