Narzędzie do równoczesnego kształtowania plastycznego wyrobów typu kula metodą walcowania poprzecznego
Alternative title
Tool for the simultaneous plastic formation of ball type products by transverse rolling
Type
Patent
Subtype
Invention
Authors/Creators
Publisher
Urząd Patentowy Rzeczypospolitej Polskiej
Date
2011
Abstract PL
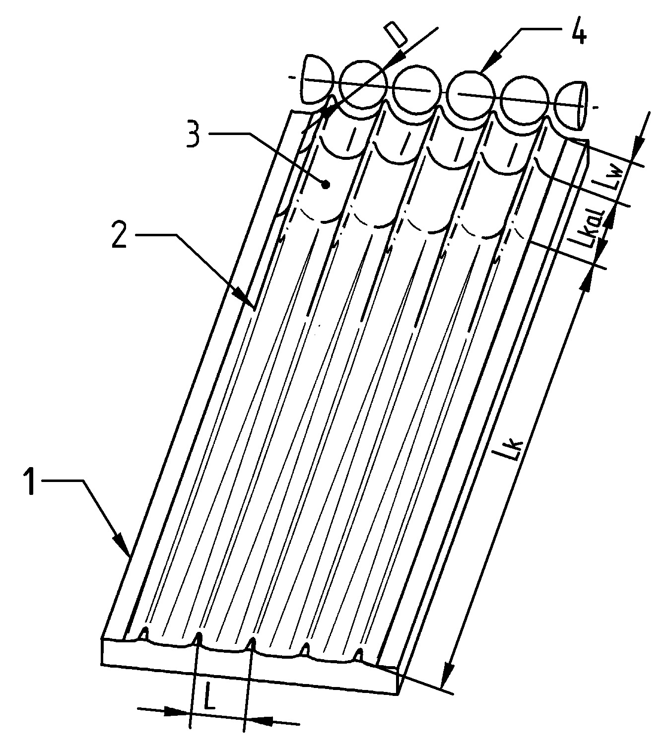
Narzędzie do równoczesnego kształtowania plastycznego wyrobów typu kula metodą walcowania poprzecznego, charakteryzuje się tym, że składa się z płaskiej podstawy (1), na której umieszczone są wzdłużnie, równolegle do siebie w odległości (L) większej od średnicy (D) kształtowanej kuli (4) występy (2) o wklęsłych powierzchniach roboczych, które tworzą parami wykroje (3) o zarysie walcowanej kuli (4), przy czym występy (2) stopniowo zwiększają swoją wysokość na długości (Lk) kształtowania, następnie występy (2) posiadają zarys stały na długości (Lkal) kalibrowania, zaś na długości (Lw) wyjściowej posiadają stopniowo zwiększający się promień zarysu powierzchni roboczej, co umożliwia łagodne wyjścia odwalcowanej kuli (4) z wykroju (3). Narzędzie ma występy (2) umieszczone na podstawie (1) w kształcie walca.
Date of filing with the Polish Patent Office or with the competent office abroad
2011-05-02
Date of publication in ‘WUP’ or equivalent foreign bulletin
2014-01-31
Exclusive right number
Pat.215635
Statistics
Pater, Z., & Tomczak, J. (2011). Narzędzie do równoczesnego kształtowania plastycznego wyrobów typu kula metodą walcowania poprzecznego. Urząd Patentowy Rzeczypospolitej Polskiej. https://hdl.handle.net/20.500.14629/17099

Loading...
Files
miniaturka.jpg
JPG 323.69 KB
Licence
Accessibility issue?Request a WCAG-compliant file
Publication available in collections: