Konik obrabiarki
Alternative title
Tailstock
Type
Patent
Subtype
Invention
Authors/Creators
Publisher
Urząd Patentowy Rzeczypospolitej Polskiej
Date
2008
Abstract PL
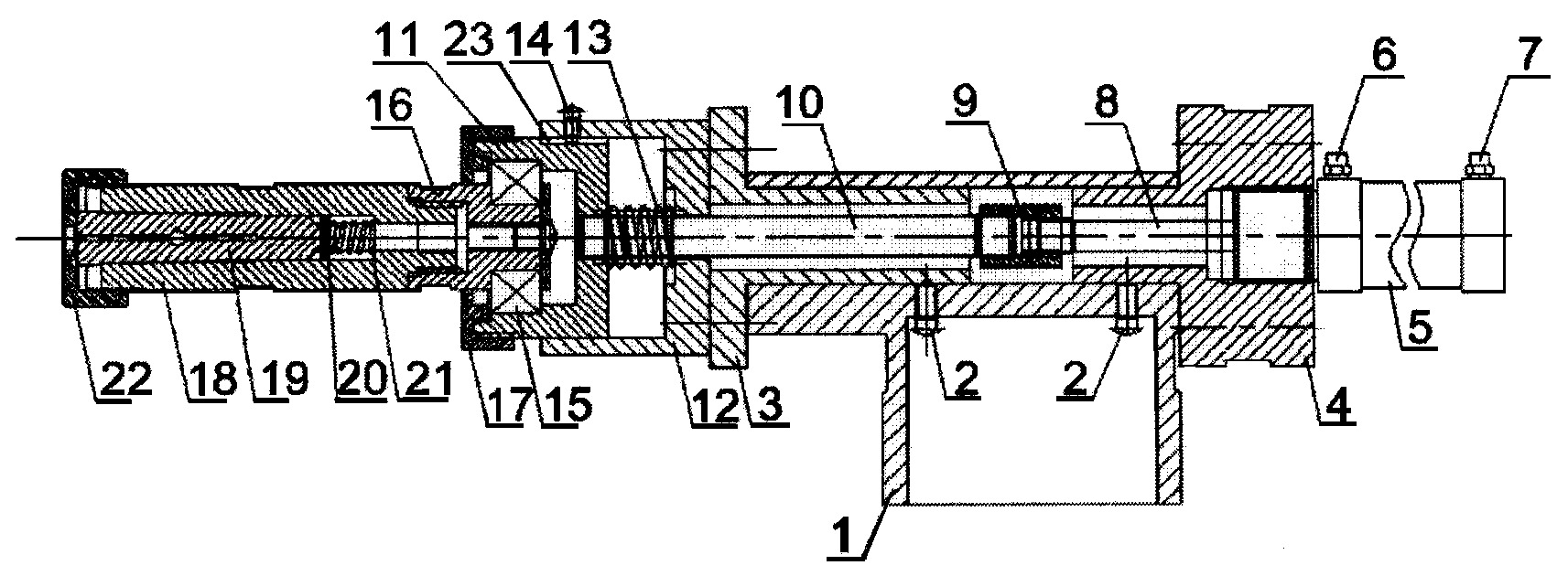
Konik obrabiarki przeznaczony do obróbki precyzyjnych wałków o małej sztywności na obrabiarkach skrawających z zastosowaniem układów sterowania automatycznego oraz obrabiarek sterowanych numerycznie. Do korpusu (1) zamocowane są za pomocą śrub (2) podstawy (3, 4), przy czym podstawa (4) połączona jest gwintem z cylindrem (5) pneumatycznym z króćcami (6, 7), który za pomocą trzpienia (8) poprzez sprzęgło (9) i cięgno (10) połączony jest z ruchomą tuleją (11) z rowkiem wpustowym (23), która umieszczona jest wewnątrz nieruchomej tulei (12). Na końcu cięgna (10) znajduje się sprężyna (13), a w tuleję (12) wkręcona jest śruba (14) blokująca poprzez rowek wpustowy (23) ruch tulei (11), wewnątrz tulei (11) na łożysku (15) promieniowo oporowym zamocowana jest tuleja (16), zaś łożysko (15) zabezpieczone jest pokrywą (17), a w tulei (16) zamocowana jest tuleja (18), w której znajduje się tuleja (19) zaciskowa poprzez podkładkę (20) i sprężynę (21). Na końcu tulei (18) znajduje się gwintowana pokrywa (22).
Date of filing with the Polish Patent Office or with the competent office abroad
2008-12-12
Date of publication in ‘WUP’ or equivalent foreign bulletin
2013-04-30
Exclusive right number
Pat.213608
Statistics
Taranenko, W., Świć, A., Bagimov, I., Taranenko, G., & Szabelski, J. (2008). Konik obrabiarki. Urząd Patentowy Rzeczypospolitej Polskiej. https://hdl.handle.net/20.500.14629/16997

Loading...
Files
miniaturka.jpg
JPG 267.85 KB
Licence
Accessibility issue?Request a WCAG-compliant file
Publication available in collections: