Układ i sposób automatycznego sterowania dopływem i parametrami powietrza dodatkowo schładzającego spaliny, zwłaszcza silnika turbinowego śmigłowca
Alternative title
System and method for automatically controlling parameters of the air inlet and exhaust a cooling further, especially turbine engine of a helicopter
Type
Patent
Subtype
Invention
Authors/Creators
Publisher
Urząd Patentowy Rzeczypospolitej Polskiej
Date
2009
Abstract PL
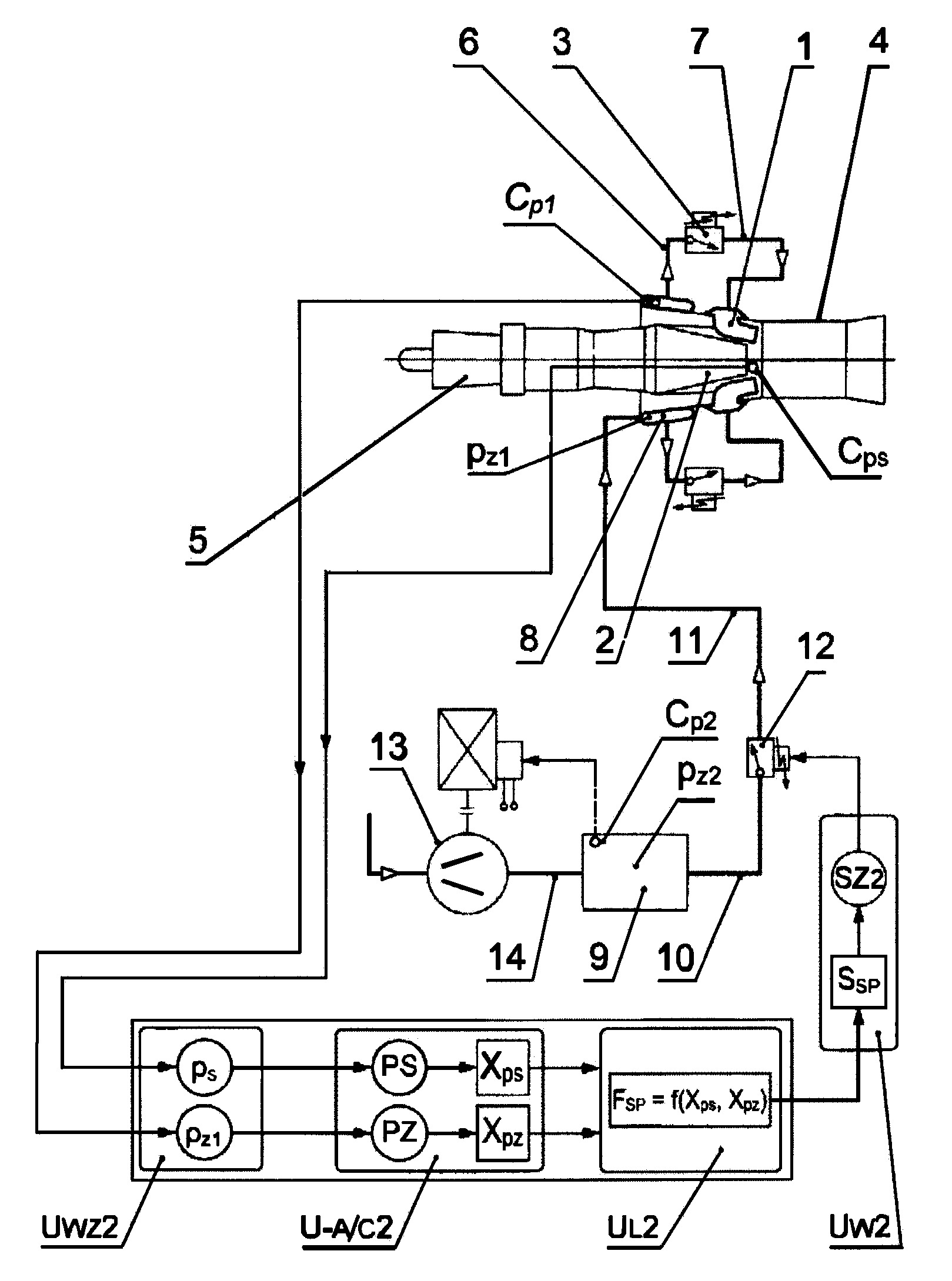
Układ i sposób automatycznego sterowania dopływem i parametrami powietrza dodatkowo schładzającego spaliny, zwłaszcza silnika turbinowego śmigłowca umieszczony na pokładzie śmigłowca charakteryzuje się tym, że w zbiorniku (8) w kształcie torusa znajduje się czujnik (Cp1) ciśnienia, a za dyszą (2) spalin tuż przy jej wylocie, we wnętrzu płaszcza schładzacza (4) umieszczony jest czujnik (Cps) ciśnienia, czujniki (Cp1, Cps) połączone są z blokiem (U-A/C2) analogowo-cyfrowym poprzez blok (UWZ2) wzmacniający sygnały (pz1, ps) mierzonych wielkości, a blok (U-A/C2) składa się z podukładów przekształcających poszczególne sygnały (PZ, PS) analogowe mierzonych wielkości w poszczególne sygnały (Xpz, Xps) cyfrowe, blok (U-A/C2) analogowo-cyfrowy połączony jest z blokiem (UL2) logicznym, a wychodzący z niego sygnał (SSP) cyfrowy, sterujący dopływa do bloku (UW2) wykonawczego, skąd wyprowadzana jest wielkość (SZ2) sterująca elektrozaworem (12) regulacyjno-odcinającym, regulującym i utrzymującym ciśnienie w zbiorniku (8) na wymaganym poziomie ciśnienia (pz1), a także odcinającym lub zamykającym połączenie zbiornika (8) w kształcie torusa, ze zbiornikiem (9) głównym sprężonego powietrza o ciśnieniu (pz2) utrzymywanym poprzez oddziaływanie czujnika (Cp2) ciśnienia, umieszczonego w zbiorniku głównym na podukład sterowania działaniem elektrycznego silnika napędzającego sprężarkę (13) powietrza.
Date of filing with the Polish Patent Office or with the competent office abroad
2009-07-06
Date of publication in ‘WUP’ or equivalent foreign bulletin
2014-10-31
Exclusive right number
Pat.218061
Fijałkowski, S., & Wójcik, P. (2009). Układ i sposób automatycznego sterowania dopływem i parametrami powietrza dodatkowo schładzającego spaliny, zwłaszcza silnika turbinowego śmigłowca. Urząd Patentowy Rzeczypospolitej Polskiej. https://hdl.handle.net/20.500.14629/16870

Loading...
Files
miniaturka.jpg
JPG 349.2 KB
Licence
Accessibility issue?Request a WCAG-compliant file
Publication available in collections: