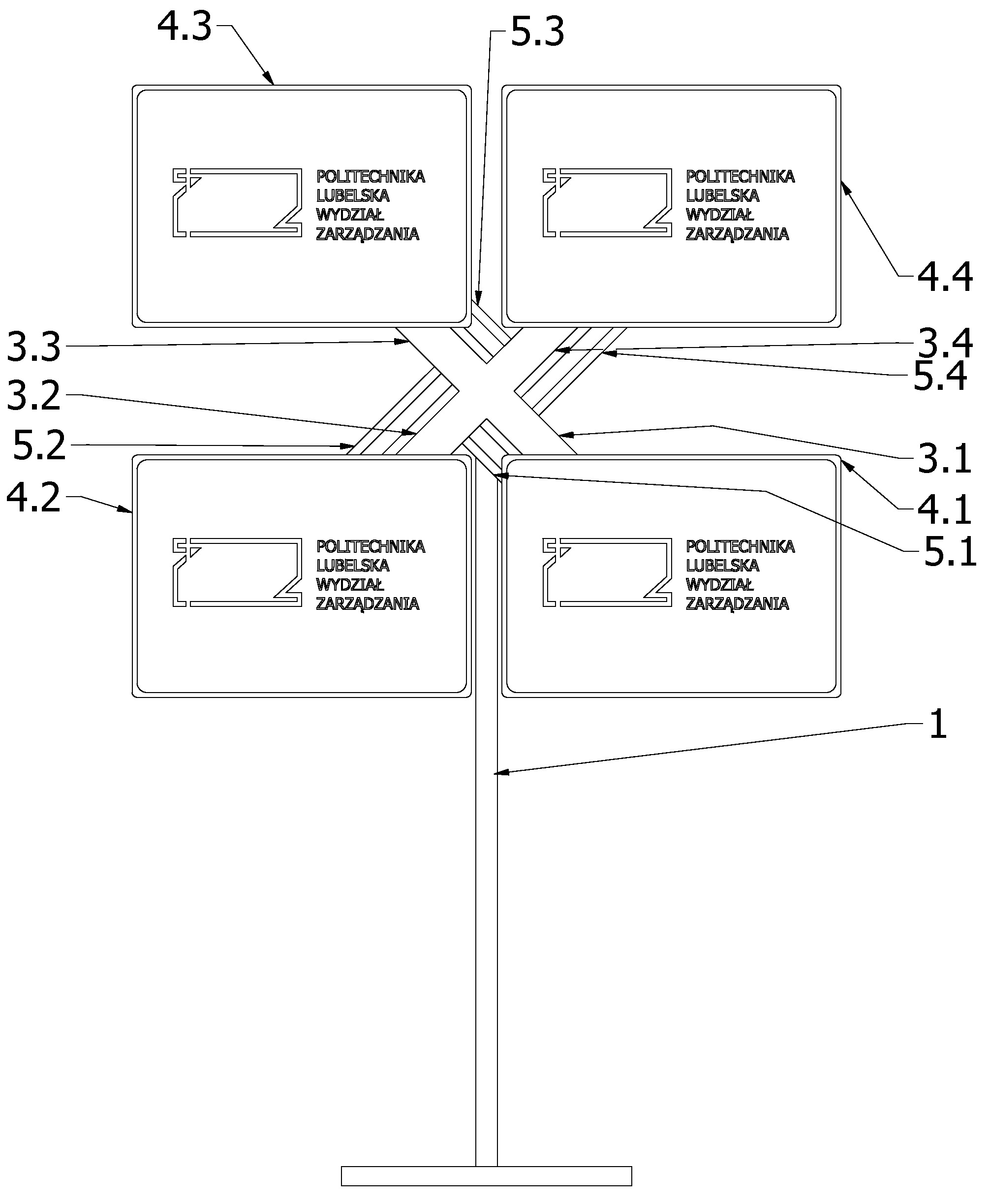
Wiatrak reklamowy z rozsuwanymi tablicami
Alternative title
Advertising fan with extendable boards
Type
Patent
Subtype
Invention
Authors/Creators
Publisher
Urząd Patentowy Rzeczypospolitej Polskiej
Date
2023
Abstract PL
Date of filing with the Polish Patent Office or with the competent office abroad
2023-10-27
Date of publication in ‘WUP’ or equivalent foreign bulletin
2024-12-16
Exclusive right number
Pat.246217
Statistics
Skowron, Ł., Gąsior, M., Cioch, M., Kłosowski, G., Laskowski, J. F., Maciaszczyk, M., & Skowron, S. (2023). Wiatrak reklamowy z rozsuwanymi tablicami. Urząd Patentowy Rzeczypospolitej Polskiej. https://hdl.handle.net/20.500.14629/18085

Loading...
Files
miniaturka.jpg
JPG 251.67 KB
Licence
Accessibility issue?Request a WCAG-compliant file
Publication available in collections: