Urządzenie do klimatyzacji
Alternative title
Device for air conditioning
Type
Patent
Subtype
Invention
Authors/Creators
Publisher
Urząd Patentowy Rzeczypospolitej Polskiej
Date
2011
Abstract PL
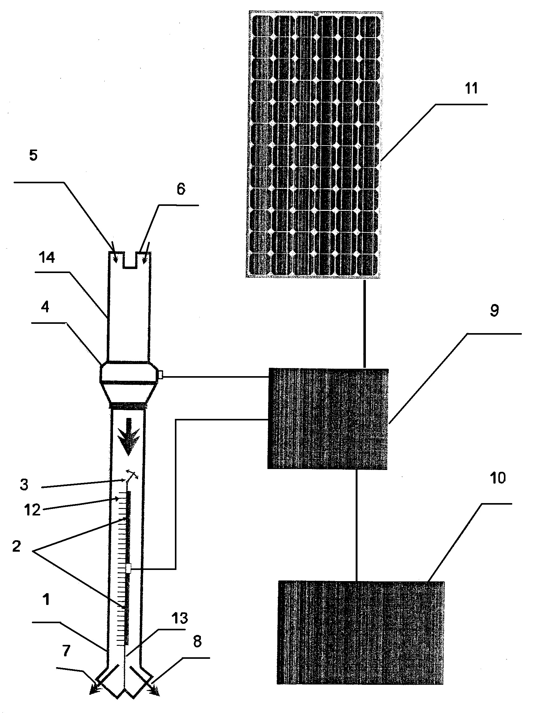
Urządzenie do klimatyzacji zasilane ogniwem fotowoltaicznym, posiadające wentylator, króćce i panel fotowoltaiczny, składa się z rury (1), która przegrodzona jest od dołu, wzdłuż pionowej osi, przegrodą (13), na której z jednej strony znajdują się żebra radiatora (12), zaś z drugiej strony są moduły (2) ogniwa Peltiera, przy czym na górnym końcu przegrody (13) znajduje się przesłona (3) w kształcie półkola, natomiast na górnym końcu rury (1) znajduje się wentylator (4) połączony w górnej części z rurą (14) wlotową, która na końcu posiada króćce (5, 6) z regulowanym przepływem, przy czym króciec (5) do zasysania powietrza zewnętrznego i króciec (6) do zasysania powietrza wewnętrznego. Dolny koniec rury (1) posiada od strony radiatora (12) króciec (7) do odprowadzania powietrza ogrzanego na zewnątrz i od strony modułów (2) ogniwa Peltiera króciec (8) do odprowadzania powietrza oziębionego do pomieszczenia klimatyzowanego. Moduły (2) ogniwa Peltiera połączone są poprzez regulator (9) napięcia z baterią (10), która połączona jest z panelem (11) ogniwa fotowoltaicznego, a wentylator (4) połączony jest poprzez regulator (9) napięcia z baterią (10).
Date of filing with the Polish Patent Office or with the competent office abroad
2011-12-21
Date of publication in ‘WUP’ or equivalent foreign bulletin
2015-03-31
Exclusive right number
Pat.219022
Statistics
Olchowik, J., & Pawłowski, L. (2011). Urządzenie do klimatyzacji. Urząd Patentowy Rzeczypospolitej Polskiej. https://hdl.handle.net/20.500.14629/16831

Loading...
Files
miniaturka.jpg
JPG 664.64 KB
Licence
Accessibility issue?Request a WCAG-compliant file
Publication available in collections: