Mechanizm przechylania uchwytu tablicy reklamowej i jej przesunięcia
Alternative title
Mechanism for tilting the holder of an advertising board and moving it
Type
Patent
Subtype
Invention
Authors/Creators
Publisher
Urząd Patentowy Rzeczypospolitej Polskiej
Date
2023
Abstract PL
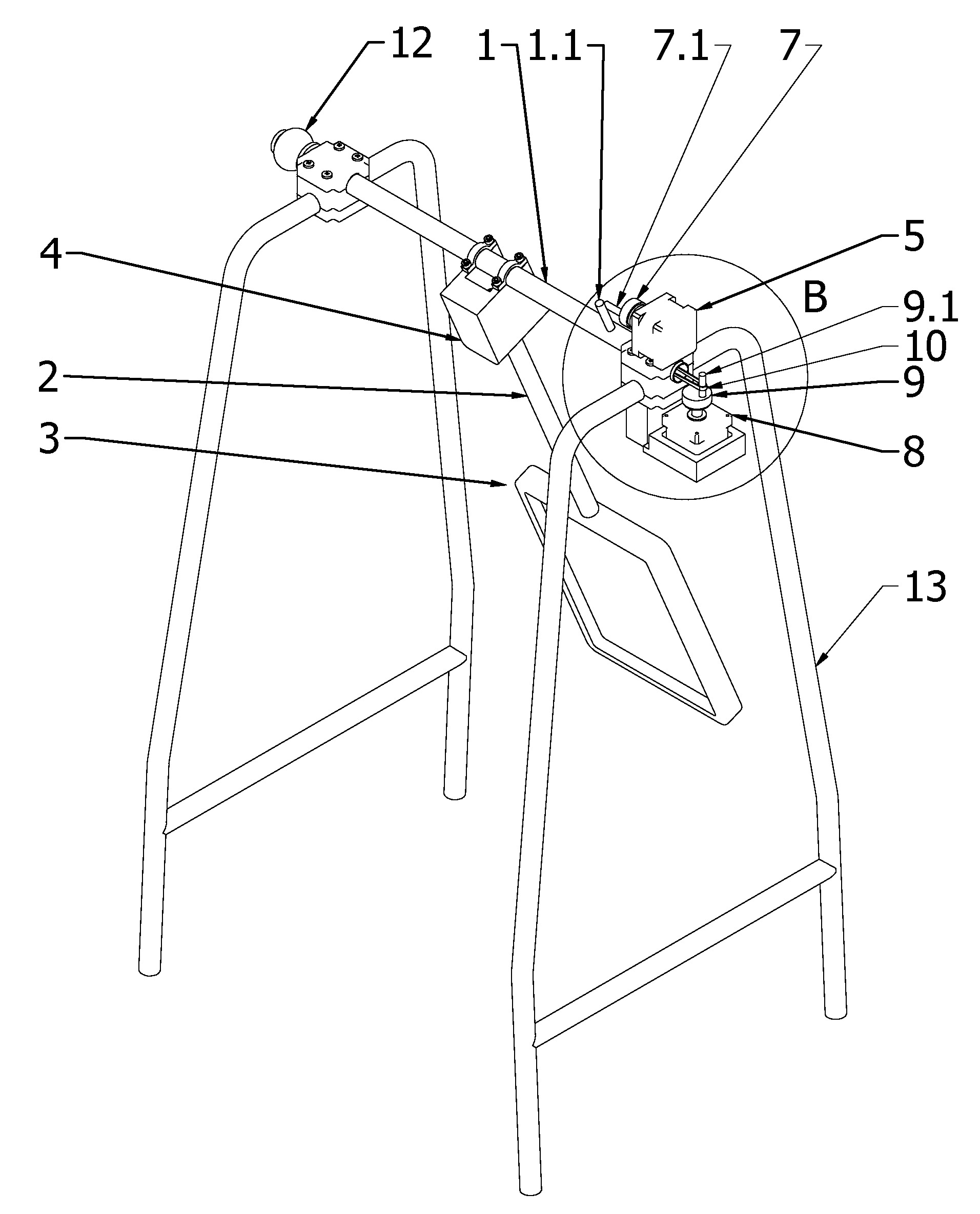
Przedmiotem zgłoszenia jest mechanizm przechylania uchwytu tablicy reklamowej i jej przesunięcia, zamocowany na belce (1) zamocowanej pomiędzy podporami, przy czym w mechanizmie do belki (1) zamocowany jest uchwyt (2), korzystnie w postaci pręta skierowany ku dołowi, do którego zamocowana jest tablica reklamowa (3). Charakteryzuje się on tym, że uchwyt (2) zamocowany jest w korpusie (4), który zamocowany jest nieobrotowo do belki (1), zaś belka (1) zamocowana jest obrotowo wokół jej osi pomiędzy podporami. Do podpory zamocowany jest pierwszy silnik elektryczny (5) z wałem ułożonym równolegle do osi belki (1). Do wału pierwszego silnika elektrycznego (5) zamocowane jest pierwsze koło ze znajdującym się od strony jego podstawy trzpieniem, ułożonym niewspółosiowo do osi pierwszego koła. Belka (1) posiada pierwszy trzpień (1.1) ułożony prostopadle do jej osi i stykający się w pozycji wyjściowej z trzpieniem zamocowanym do pierwszego koła, tudzież belka (1) zamocowana jest przesuwnie wzdłuż jej osi pomiędzy podporami. Do podpory zamocowany jest drugi silnik elektryczny (8) z wałem ułożonym prostopadle do osi belki (1). Do wału drugiego silnika elektrycznego (8) zamocowane jest drugie koło (9) ze znajdującym się od strony jego podstawy trzpieniem, ułożonym niewspółosiowo do osi drugiego koła (9). Belka (1) posiada drugi trzpień ułożony prostopadle do jej osi. Pomiędzy trzpieniem zamocowanym do drugiego koła (9) i drugim trzpieniem belki (1) znajduje się element łączący, korzystnie w postaci pasa (11). Pomiędzy belką (1), a podporą znajduje się sprężyna (12) o osi ułożonej równolegle do osi belki (1). Korzystnie pierwszy silnik elektryczny (5) lub drugi silnik elektryczny (8) są silnikami krokowymi połączonymi z modułem sterującym, który korzystnie podłączony jest do modułu sterującego. Opcjonalnie moduł sterujący podłączony jest do czujnika ruchu.
Date of filing with the Polish Patent Office or with the competent office abroad
2023-04-26
Date of publication in ‘WUP’ or equivalent foreign bulletin
2024-04-08
Exclusive right number
Pat.244976
Statistics
Skowron, Ł., Gąsior, M., Gola, A., Paździor, A., Żminda, T., Sobka, M., & Majek, A. (2023). Mechanizm przechylania uchwytu tablicy reklamowej i jej przesunięcia. Urząd Patentowy Rzeczypospolitej Polskiej. https://hdl.handle.net/20.500.14629/17900

Loading...
Files
miniaturka.jpg
JPG 303.1 KB
Licence
Accessibility issue?Request a WCAG-compliant file
Publication available in collections: