Obciążka do dźwigu
Alternative title
Weight for a crane
Type
Patent
Subtype
Invention
Authors/Creators
Publisher
Urząd Patentowy Rzeczypospolitej Polskiej
Date
2016
Abstract PL
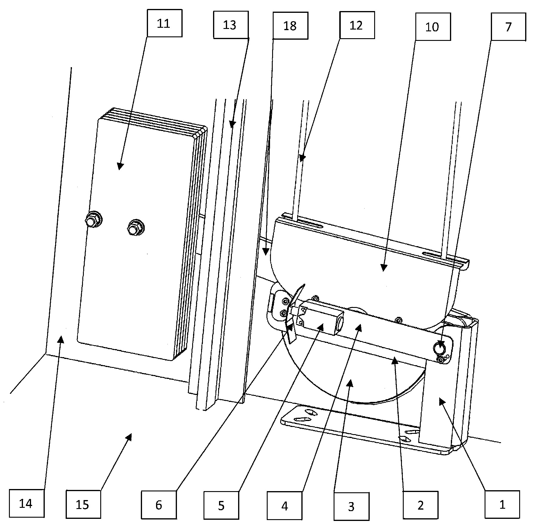
Obciążka do dźwigu składa się z korpusu (1) stalowego, którego część pionową stanowi korpus w kształcie ceownika, zaś część dolną korpusu stanowi poziomy płaskownik, w którym wykonane są otwory mocujące do dna (15) podszybia. W części górnej korpusu (1) zamontowane są obrotowo poprzez sworzeń (7) zawiasu ramiona (2), które na obu końcach połączone są ze sobą na stałe płaskownikiem. Pomiędzy ramionami na sworzniu koła linowego zamocowane jest koło (3) linowe. Na sworzniu (7) zawiasu i sworzniu koła linowego zamocowane jest ramię (18) obciążnika, które poprzez podkładki dystansowe znajdujące się na sworzniu koła i sworzniu (7) zawiasu jest oddalone od ramion (2). Do ramion (2) przymocowana jest osłona (10) koła (3) linowego i krzywka (6) uruchamiająca wyłącznik (5) bezpieczeństwa, zamocowany do wspornika (4) przymocowanego do korpusu (1) w kształcie ceownika.
Date of filing with the Polish Patent Office or with the competent office abroad
2016-03-02
Date of publication in ‘WUP’ or equivalent foreign bulletin
2017-05-31
Exclusive right number
Pat.225770
Szydło, K., Lonkwic, P., & Longwic, R. (2016). Obciążka do dźwigu. Urząd Patentowy Rzeczypospolitej Polskiej. https://hdl.handle.net/20.500.14629/17855

Files
miniaturka.jpg
JPG 326.31 KB
Licence
Accessibility issue?Request a WCAG-compliant file
Publication available in collections: