Łopata wirnika nośnego o zmiennym kącie skręcenia
Alternative title
Blade of a lifting rotor with variable twist angle
Type
Patent
Subtype
Invention
Authors/Creators
Publisher
Urząd Patentowy Rzeczypospolitej Polskiej
Date
2019
Abstract PL
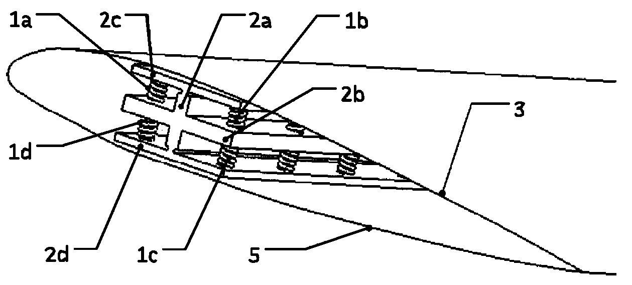
Łopata wirnika nośnego o zmiennym kącie skręcenia, posiadająca dźwigar, wypełnienie łopaty, elementy z materiału z pamięcią kształtu charakteryzuje się tym, że wewnątrz łopaty znajduje się dźwigar składający się z belki poziomej (2b) oraz połączonej z nią w jej środkowej części, co najmniej jednej belki pionowej (2a). Z górnym końcem belki pionowej (2a) połączona jest połączeniem odkształcalno-uchylnym środkowa część górnej poprzeczki (2c), natomiast z dolnym końcem belki pionowej (2a) połączona jest połączeniem odkształcalno-uchylnym w środkowej części dolna poprzeczka (2d). Pomiędzy skrajnymi końcami belki poziomej (2b) a górną poprzeczką (2c) i pomiędzy skrajnymi końcami belki poziomej (2b) oraz dolną poprzeczką (2d) znajdują się elementy z materiału z pamięcią kształtu (1a, 1b, 1c, 1d).
Date of filing with the Polish Patent Office or with the competent office abroad
2019-06-28
Date of publication in ‘WUP’ or equivalent foreign bulletin
2023-02-27
Exclusive right number
Pat.242488
Siadkowska, K., Czyż, Z., & Skiba, K. (2019). Łopata wirnika nośnego o zmiennym kącie skręcenia. Urząd Patentowy Rzeczypospolitej Polskiej. https://hdl.handle.net/20.500.14629/17872

Loading...
Files
miniaturka.jpg
JPG 91.9 KB
Licence
Accessibility issue?Request a WCAG-compliant file
Publication available in collections: