Urządzenie do oznaczania odkształceń i modułu sztywności mieszanek mineralno-bitumicznych
Alternative title
Apparatus for determining strain and modulus of rigidity of mixes consisting of bituminous and mineral materials
Type
Patent
Subtype
Invention
Authors/Creators
Publisher
Urząd Patentowy Rzeczypospolitej Polskiej
Date
1997
Abstract PL
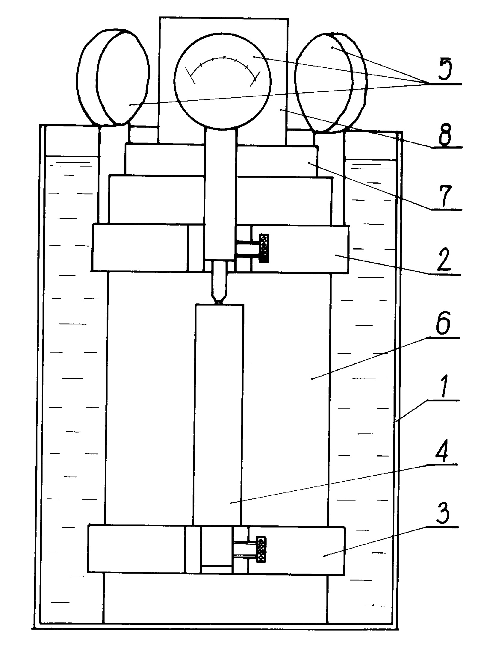
Urządzenie do oznaczania odkształceń i modułu sztywności mieszanek mineralno-bitumicznych składa się z izolowanego termicznie naczynia (1), wypełnionego wodą o założonej temperaturze, w którym umieszczona jest badana, cylindryczna próbka (6) z unieruchomionymi na niej w stałej odległości dwoma pierścieniami (2, 3), złączonymi trzema, równomiernie rozmieszczonymi na obwodach pierścieni, pionowymi prętami (4) pomiarowymi, których dolne końce są nieruchomo złączone z dolnym pierścieniem (3), górne końce złączone są suwliwie z górnym pierścieniem (2), do czoła każdego z prętów pomiarowych dotyka osiowo nóżka pomiarowa czujnika (5) pomiarowego, unieruchomionego w górnym pierścieniu (2), a od góry na płytce (7), na badanej próbce (1), ustawiony jest osiowo obciążnik (8).
Date of filing with the Polish Patent Office or with the competent office abroad
1997-11-19
Date of publication in ‘WUP’ or equivalent foreign bulletin
2002-11-29
Exclusive right number
Pat.184610
Kukiełka, J. (1997). Urządzenie do oznaczania odkształceń i modułu sztywności mieszanek mineralno-bitumicznych. Urząd Patentowy Rzeczypospolitej Polskiej. https://hdl.handle.net/20.500.14629/17425

Files
miniaturka.jpg
JPG 243.75 KB
Licence
Accessibility issue?Request a WCAG-compliant file
Publication available in collections: