Urządzenie do wykorzystania ciepła z dolnego źródła ciepła obiegu silnikowego
Alternative title
Apparatus for utilising the lower heat source of engine thermal cycle
Type
Patent
Subtype
Invention
Authors/Creators
Publisher
Urząd Patentowy Rzeczypospolitej Polskiej
Date
1999
Abstract PL
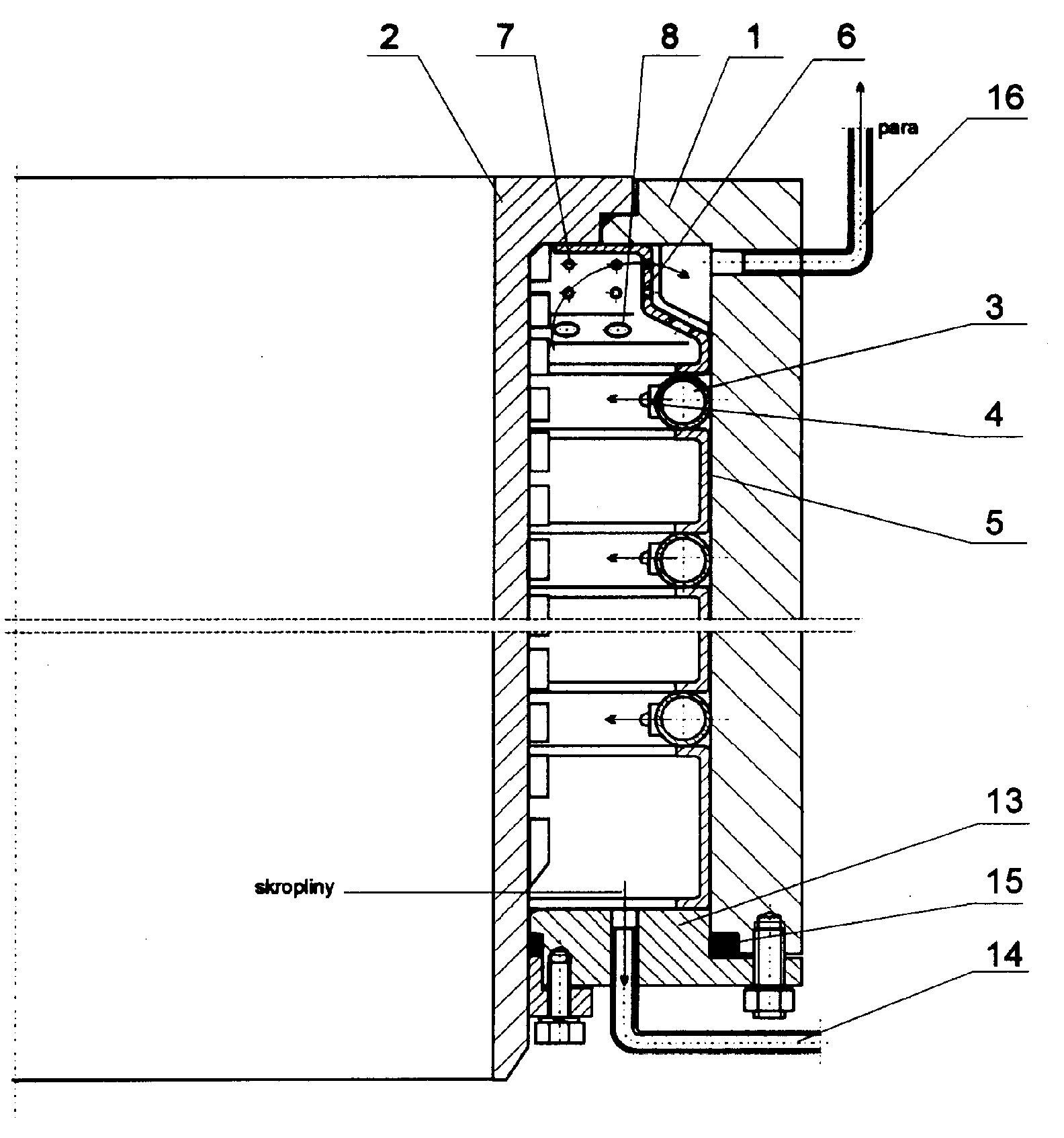
Urządzenie do wykorzystania ciepła z dolnego źródła ciepła obiegu silikonowego zabudowane jest w przestrzeni pierścieniowej, pomiędzy blokiem (1) silnika i mokrą tuleją (2) cylindrową o gładkiej powierzchni lub użebrowaną i składa się z jednego lub kilku torusów (3) z zespołem dysz (4) wtryskowych, co najmniej dwiema każdy, przedzielonych i dystansowanych tulejami (5) dystansowymi. Nad najwyżej położonym torusem (3) z zespołem dysz (4) wtryskowych, w przestrzeni pierścieniowej umieszczony jest wstępny separator (6) pary cylindryczny, dwuśrednicowy, z większą średnicą równą średnicy tulei (5) dystansowych od dołu i łagodnym przejściem do cylindra o mniejszej średnicy, przy czym na tworzącej cylindra o mniejszej średnicy wykonane są otwory (7). Na łagodnym przejściu pomiędzy cylindrami wykonane są otwory (8) cylindryczne o średnicy wielokrotnie większej od otworów (7) górmych. Każdy torus (3) wtryskiwacza posiada od zewnątrz jeden cylindryczny króciec gwintowany, zasilający, mocowany do torusa (3) poprzez stożek, wkładany do otworu promieniowego, mocowanego w bloku nakrętką.
Date of filing with the Polish Patent Office or with the competent office abroad
1999-12-17
Date of publication in ‘WUP’ or equivalent foreign bulletin
2007-08-31
Exclusive right number
Pat.195056
Statistics
Laskowski, S., & Nakonieczny, K. (1999). Urządzenie do wykorzystania ciepła z dolnego źródła ciepła obiegu silnikowego. Urząd Patentowy Rzeczypospolitej Polskiej. https://hdl.handle.net/20.500.14629/17416

Loading...
Files
miniaturka.jpg
JPG 282.51 KB
Licence
Accessibility issue?Request a WCAG-compliant file
Publication available in collections: