Sposób wytwarzania tarczy indowo-galowej
Alternative title
Method for manufacturing an indium-gallium shield
Type
Patent
Subtype
Invention
Authors/Creators
Publisher
Urząd Patentowy Rzeczypospolitej Polskiej
Date
2014
Abstract PL
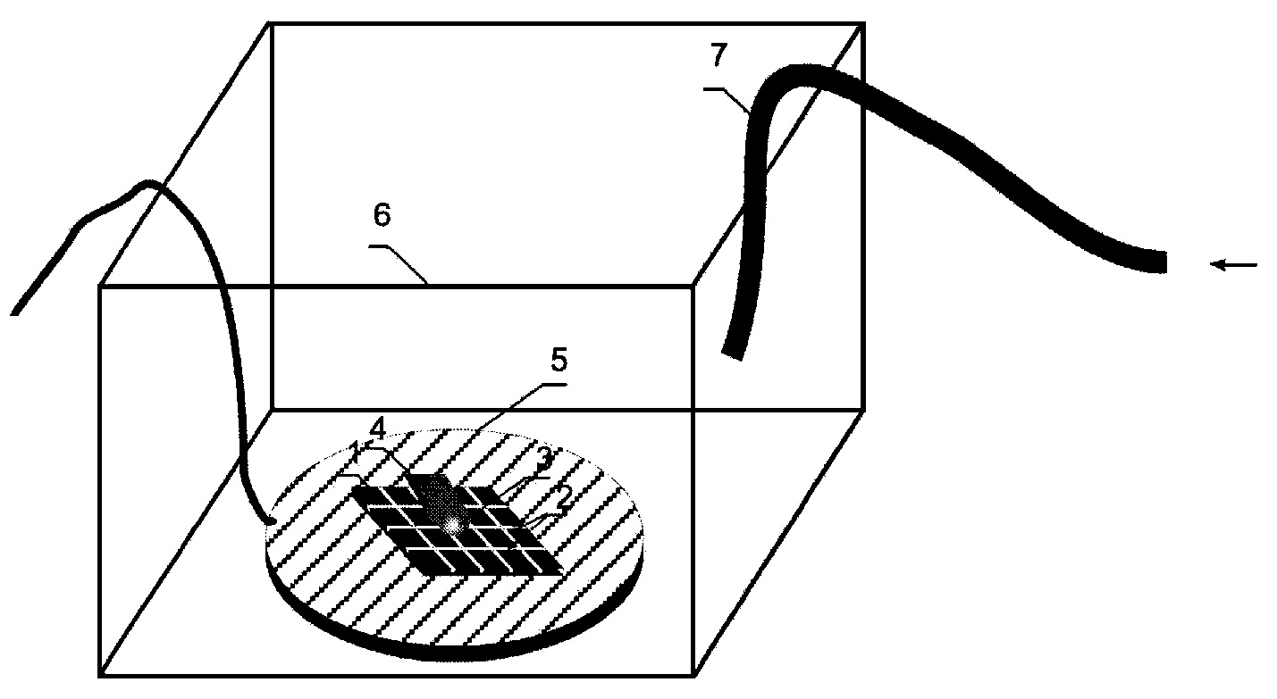
Sposób wytwarzania tarczy indowo-galowej polega na tym, że w tarczy (1) indowej wytwarza się w sposób mechaniczny poprzez wyżłobienie siatkę wzajemnie prostopadłych rowków (2). Dalej tarczę (1) indową umieszcza się na powierzchni grzejnika (5) o temperaturze 30 - 35°C, znajdującego się w kuwecie (6) oraz wtłacza się do wnętrza kuwety (6) argon za pomocą węża (7). Z kolei na powierzchni tarczy (1) indowej umieszcza się bryłę (3) galu, który po przejściu w stan płynny, rozprowadza się za pomocą szpatułki (4) z grafitu, po powierzchni tarczy (1) indowej wzdłuż rowków (2), a następnie, po wyłączeniu grzejnika, cały układ schładza się do temperatury pokojowej.
Date of filing with the Polish Patent Office or with the competent office abroad
2014-12-04
Date of publication in ‘WUP’ or equivalent foreign bulletin
2017-04-28
Exclusive right number
Pat.225856
Statistics
Olchowik, J. (2014). Sposób wytwarzania tarczy indowo-galowej. Urząd Patentowy Rzeczypospolitej Polskiej. https://hdl.handle.net/20.500.14629/16971

Loading...
Files
miniaturka.jpg
JPG 102.11 KB
Licence
Accessibility issue?Request a WCAG-compliant file
Publication available in collections: