Układ do bezstykowego transferu energii pomiędzy pojazdami elektrycznymi
Alternative title
System for contactless energy transfer between electric vehicles
Type
Patent
Subtype
Invention
Authors/Creators
Publisher
Urząd Patentowy Rzeczypospolitej Polskiej
Date
2018
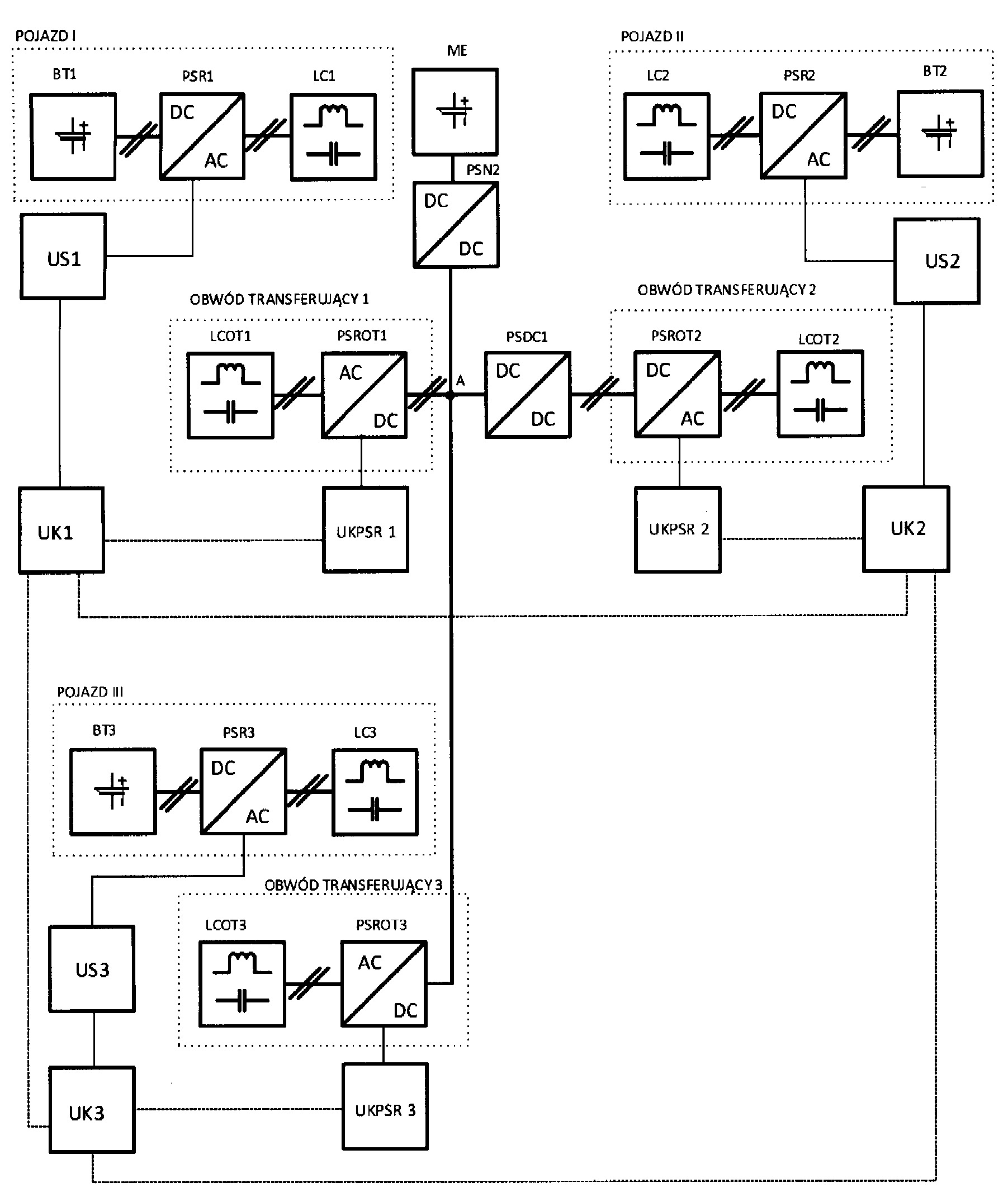
Abstract PL
Układ do bezstykowego transferu energii pomiędzy pojazdami elektrycznymi charakteryzuje się tym, że bateria trakcyjna pojazdu pierwszego (BT1) połączona jest z przekształtnikiem rezonansowym pojazdu pierwszego (PSR1), który połączony jest z obwodem rezonansowym pojazdu pierwszego (LC1) i układem sterowania pojazdu pierwszego (US1), zaś obwód rezonansowy pojazdu pierwszego (LC1) sprzężony jest magnetycznie z pierwszym obwodem rezonansowym (LCOT1), który połączony jest z pierwszym przekształtnikiem rezonansowym AC/DC (PSROT1), połączonym z pierwszym przekształtnikiem statycznym DC/DC (PSDC1). Pierwszy przekształtnik statyczny DC/DC (PSDC1) połączonym jest z drugim przekształtnikiem rezonansowym DC/AC (PSROT2), który połączony jest z drugim obwodem rezonansowym (LCOT2). Drugi obwód rezonansowy (LCOT2) sprzężony jest magnetycznie z obwodem rezonansowym pojazdu drugiego (LC2), który połączony jest z przekształtnikiem rezonansowym pojazdu drugiego DC/AC (PSR2). Przekształtnik rezonansowy pojazdu drugiego (PSR2) połączony jest z baterią trakcyjną pojazdu drugiego (BT2) i z układem sterowania pojazdu drugiego (US2). Sposób do bezstykowego transferu energii pomiędzy pojazdami elektrycznymi polega na tym, że ustala się za pomocą układu sterującego pojazdu pierwszego (US1) moc oraz kierunek transferu energii przekształtnika rezonansowego pojazdu pierwszego (PSR1) i za pomocą układu sterującego pojazdu drugiego (US2) ustala się moc oraz kierunek transferu energii dla przekształtnika rezonansowego pojazdu drugiego (PSR2), następnie z baterii pojazdu pierwszego (BT1) przekazuje się energię w postaci prądu stałego do przekształtnika pojazdu pierwszego (PSR1), gdzie zamienia się energię w postaci prądu stałego na energię w postaci prądu przemiennego i przekazuje się ją do obwodu rezonansowego pojazdu pierwszego (LC1), gdzie zamienia się energię elektryczną w energię elektromagnetyczną i transferuje się energię za pomocą pola elektromagnetycznego do obwodu rezonansowego (LCOT1), w którym zamienia się energię elektromagnetyczną w energię elektryczną prądu przemiennego i przekazuje się energię do pierwszego przekształtnika rezonansowego (PSROT1), gdzie zamienia się energię elektromagnetyczną na energię elektryczną w postaci prądu stałego i przekazuje się ją do pierwszego przekształtnika statycznego DC/DC (PSDC1), w którym podnosi się poziom napięcia stałego i przekazuje się do drugiego przekształtnika rezonansowego (PSROT2), w którym zamienia się energię elektryczną prądu stałego na energię elektryczną prądu przemiennego i przekazuje się ją do drugiego obwodu rezonansowego (LCOT2), gdzie zamienia się ją w energię elektromagnetyczną, którą transferuje się za pomocą pola elektromagnetycznego do obwodu rezonansowego pojazdu drugiego (LC2), w którym zamienia się energię elektromagnetyczną na energię elektryczną prądu przemiennego i przekazuje się ją do przekształtnika rezonansowego pojazdu drugiego (PSR2), w którym zamienia się energię elektryczną prądu przemiennego na energię elektryczną prądu stałego i przekazuje się ją do baterii trakcyjnej pojazdu drugiego (BT2).
Date of filing with the Polish Patent Office or with the competent office abroad
2018-12-20
Date of publication in ‘WUP’ or equivalent foreign bulletin
2021-10-11
Exclusive right number
Pat.238856
Statistics
Zieliński, D., Mroczek, B., Fatyga, K., Kwaśny, Ł., Jarzyna, W., & Zielińska, K. (2018). Układ do bezstykowego transferu energii pomiędzy pojazdami elektrycznymi. Urząd Patentowy Rzeczypospolitej Polskiej. https://hdl.handle.net/20.500.14629/17779

Files
miniaturka.jpg
JPG 346.98 KB
Licence
Accessibility issue?Request a WCAG-compliant file
Publication available in collections: