Sposób wytwarzania kołnierzy czołowych w kształcie trójramiennej rozety
Alternative title
Method for producing top flanges in the shape of three-arm rosette
Type
Patent
Subtype
Invention
Authors/Creators
Publisher
Urząd Patentowy Rzeczypospolitej Polskiej
Date
2011
Abstract PL
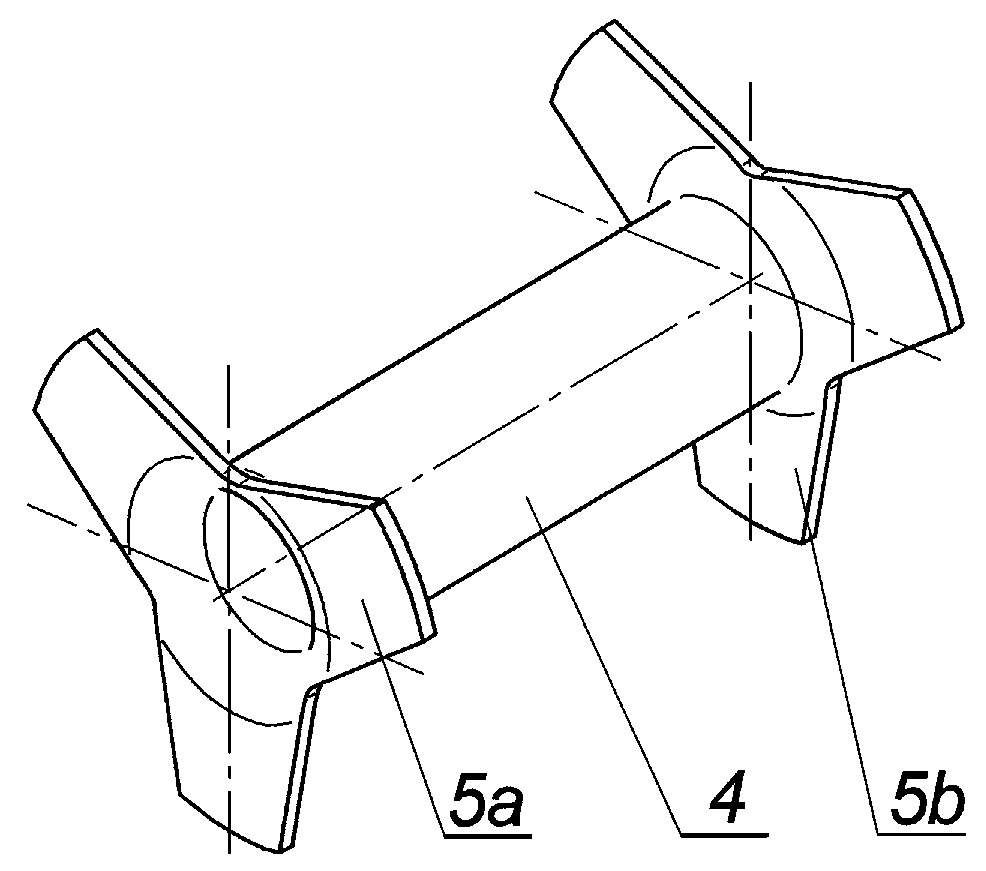
Sposób wytwarzania kołnierzy czołowych w kształcie trójramiennej rozety, zwłaszcza kołnierzy na wyrobach drążonych charakteryzuje się tym, że na skrajnych końcach półfabrykatu (3) w kształcie odcinka rury, wykonuje się na obwodzie trzy symetryczne nacięcia, następnie półfabrykat (3) umieszcza się w dzielonych matrycach (1a) i (1b), które zaciska się na półfabrykacie (3), po czym uruchamia się ruch postępowy stempli (2a) i (2b) kształtujących, które przemieszczają się ze stałą prędkością (V) wzdłuż osi półfabrykatu (3), w kierunku nacięć wykonanych na półfabrykacie (3), w efekcie przemieszczania się stempli (2a) i (2b) kształtujących, rozpycha się nacięte końce półfabrykatu (3), a następnie wygina się i dotłacza się do powierzchni czołowych dzielonych matryc (1a) i (1b) ramiona kształtowanych kołnierzy, uzyskując wyrób (4) drążony z dwustronnymi kołnierzami (5a) i (5b) w kształcie trójramiennej rozety. Sposób realizowany jest w układzie, w którym trzy symetryczne nacięcia wykonuje się na obwodzie z jednej strony półfabrykatu (3), a następnie kształtuje się kołnierz tylko z jednej strony półfabrykatu (3), natomiast drugi koniec półfabrykatu (3) pozostaje cylindryczny. Proces wytwarzania kołnierzy czołowych realizowany jest na zimno lub na gorąco.
Date of filing with the Polish Patent Office or with the competent office abroad
2011-10-10
Date of publication in ‘WUP’ or equivalent foreign bulletin
2015-11-30
Exclusive right number
Pat.220525
Statistics
Pater, Z., Tomczak, J., & Gontarz, A. (2011). Sposób wytwarzania kołnierzy czołowych w kształcie trójramiennej rozety. Urząd Patentowy Rzeczypospolitej Polskiej. https://hdl.handle.net/20.500.14629/16827

Loading...
Files
miniaturka.jpg
JPG 93.04 KB
Licence
Accessibility issue?Request a WCAG-compliant file
Publication available in collections: