Sposób kucia półfabrykatu zwłaszcza do wytwarzania wyrobów płaskich z jednym żebrem o zarysie prostokątnym
Alternative title
Method of forging the semi-finished product, especially for the production of flat products having a rectangular outline of the rib
Type
Patent
Subtype
Invention
Authors/Creators
Publisher
Urząd Patentowy Rzeczypospolitej Polskiej
Date
2011
Abstract PL
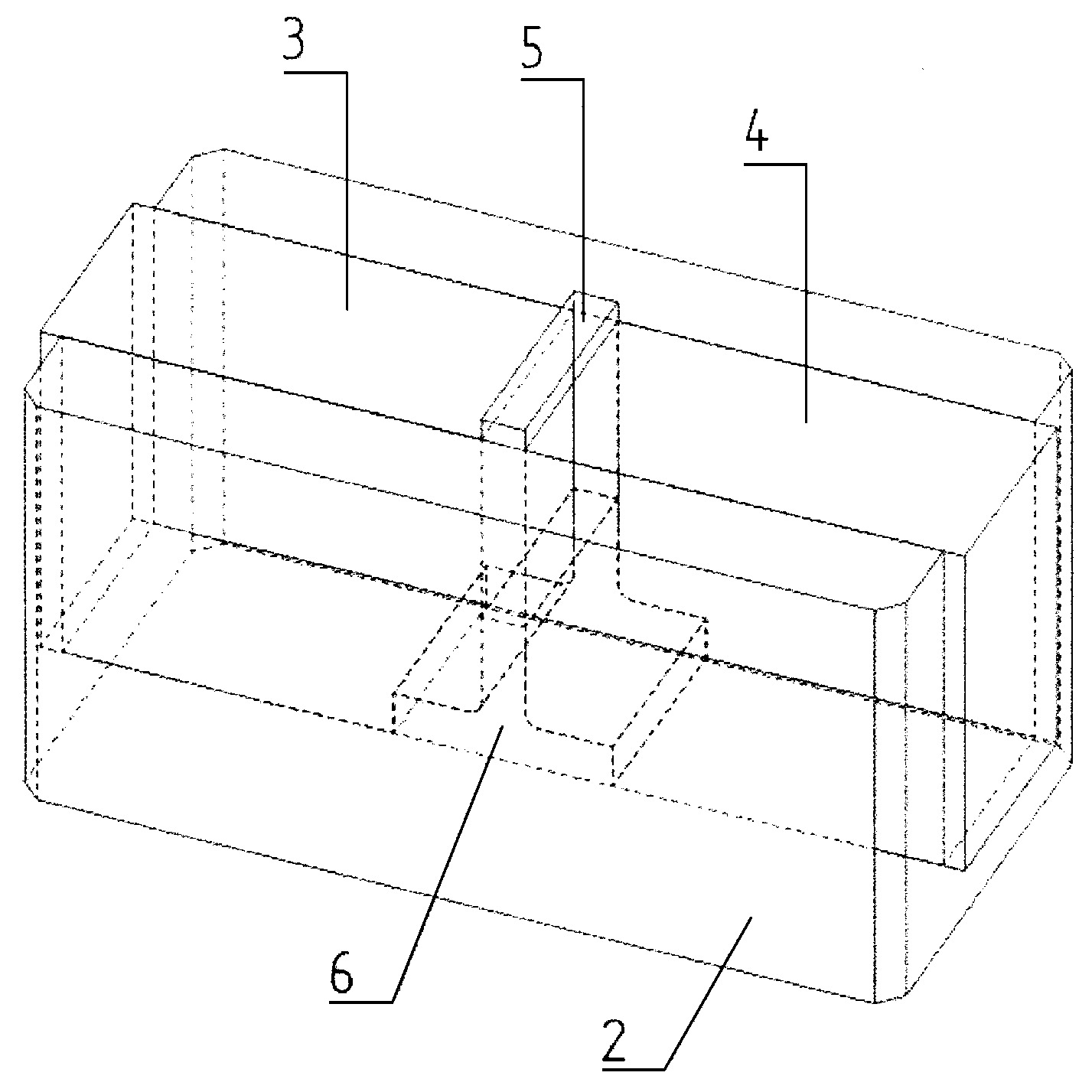
Sposób kucia półfabrykatu, zwłaszcza do wytwarzania wyrobów płaskich z jednym żebrem o zarysie prostokątnym w trójsuwakowej prasie kuźniczej charakteryzuje się tym, że materiał, wsadowy w kształcie płaskiej płyty układa się poziomo w wykroju zamkniętym na dolnej matrycy (2), pomiędzy bocznymi stemplami (3, 4) kształtującymi, a następnie ściska się, zwiększając jego przekrój poprzeczny kosztem zmniejszenia jego długości, przez co wyciska się w środkowej części materiału wsadowego zgrubienie w postaci żebra pomiędzy czołowymi powierzchniami bocznych stempli (3, 4) kształtujących, którego zarys prostokątny otrzymuje się przez nacisk wywierany górną matrycą (5), przesuwającą się w dół do momentu osiągnięcia założonego wymiaru półfabrykatu (6).
Date of filing with the Polish Patent Office or with the competent office abroad
2011-06-21
Date of publication in ‘WUP’ or equivalent foreign bulletin
2014-02-28
Exclusive right number
Pat.215953
Dziubińska, A., & Gontarz, A. (2011). Sposób kucia półfabrykatu zwłaszcza do wytwarzania wyrobów płaskich z jednym żebrem o zarysie prostokątnym. Urząd Patentowy Rzeczypospolitej Polskiej. https://hdl.handle.net/20.500.14629/16845

Loading...
Files
miniaturka.jpg
JPG 201.77 KB
Licence
Accessibility issue?Request a WCAG-compliant file
Publication available in collections: