Wiatrak reklamowy obracany
Alternative title
Advertising rotating fan
Type
Patent
Subtype
Invention
Authors/Creators
Publisher
Urząd Patentowy Rzeczypospolitej Polskiej
Date
2023
Abstract PL
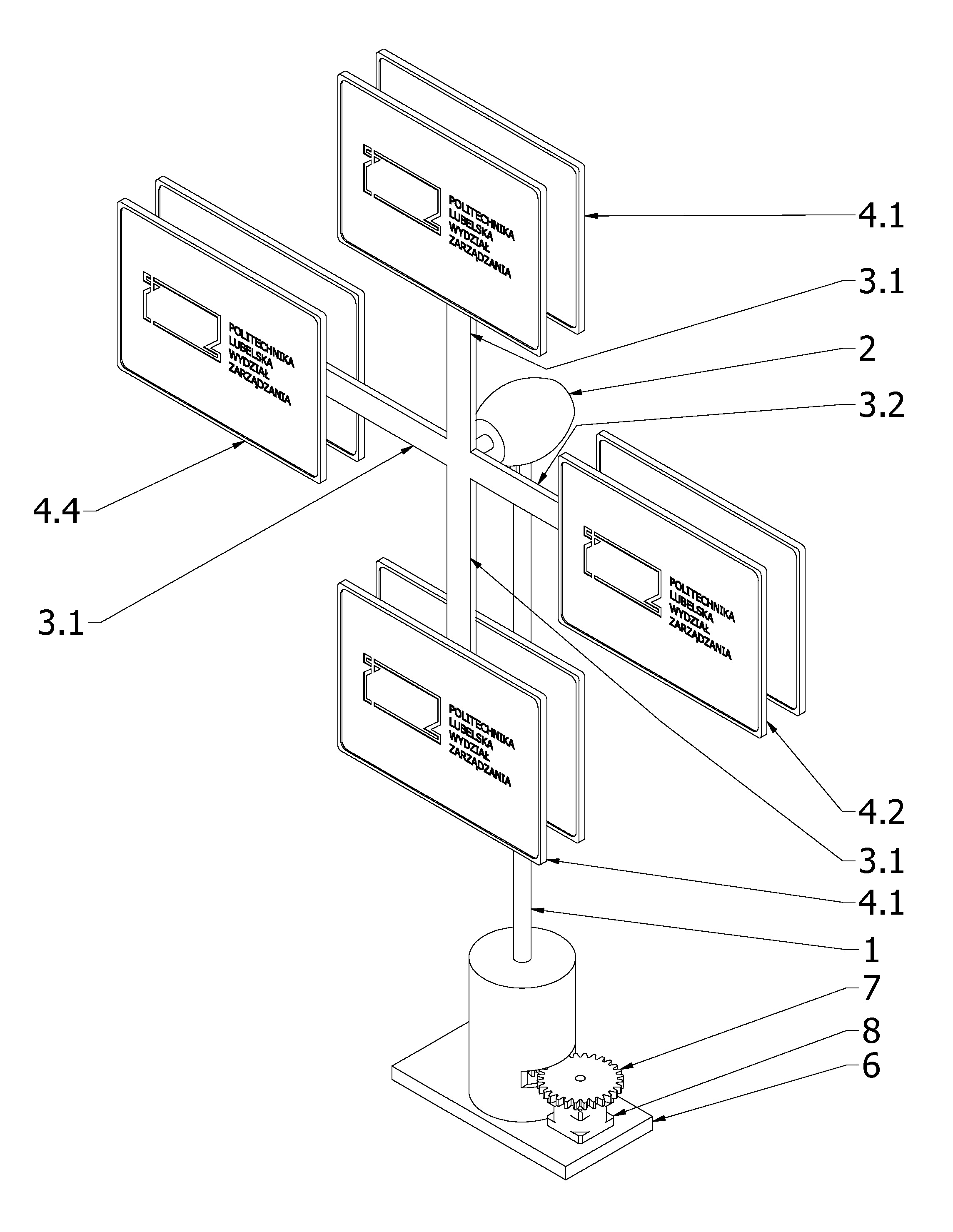
Przedmiotem zgłoszenia jest wiatrak reklamowy obracany, zamocowany na słupie (1), do którego zamocowany jest pierwszy silnik elektryczny (2). Charakteryzuje się on tym, że na wale pierwszego silnika elektrycznego (2), o osi ułożonej prostopadle do osi słupa (1) zamocowane są pierwszymi końcami ramiona (3.1, 3.2); Oś każdego z ramion (3.1, 3.2) ułożona jest prostopadle do osi silnika elektrycznego (2). W drugiej końcowej części każdego z ramion (3.1 3.2) zamocowana jest obrotowo tablica reklamowa (4.1, 4.2, 4.4), o osi obrotu ułożonej równolegle do osi pierwszego silnika elektrycznego (2). W dolnej części każdej z tablic reklamowych (4.1, 4.2, 4.4) zamocowany jest obciążnik. Słup (1) zamocowany jest obrotowo w dolnej części w podstawie (6) oraz słup (1) połączony jest za pomocą przekładni (7), korzystnie zębatej z wałem drugiego silnika elektrycznego (8) zamocowanego do podstawy (6).
Date of filing with the Polish Patent Office or with the competent office abroad
2023-10-27
Date of publication in ‘WUP’ or equivalent foreign bulletin
2024-12-16
Exclusive right number
Pat.246214
Statistics
Skowron, Ł., Gąsior, M., Gola, A., Rzepka, A., Cholewa-Wiktor, M., Sulimierska, A., & Przysucha, B. (2023). Wiatrak reklamowy obracany. Urząd Patentowy Rzeczypospolitej Polskiej. https://hdl.handle.net/20.500.14629/18091

Loading...
Files
miniaturka.jpg
JPG 458.64 KB
Licence
Accessibility issue?Request a WCAG-compliant file
Publication available in collections: