Klapa zwrotna studzienki
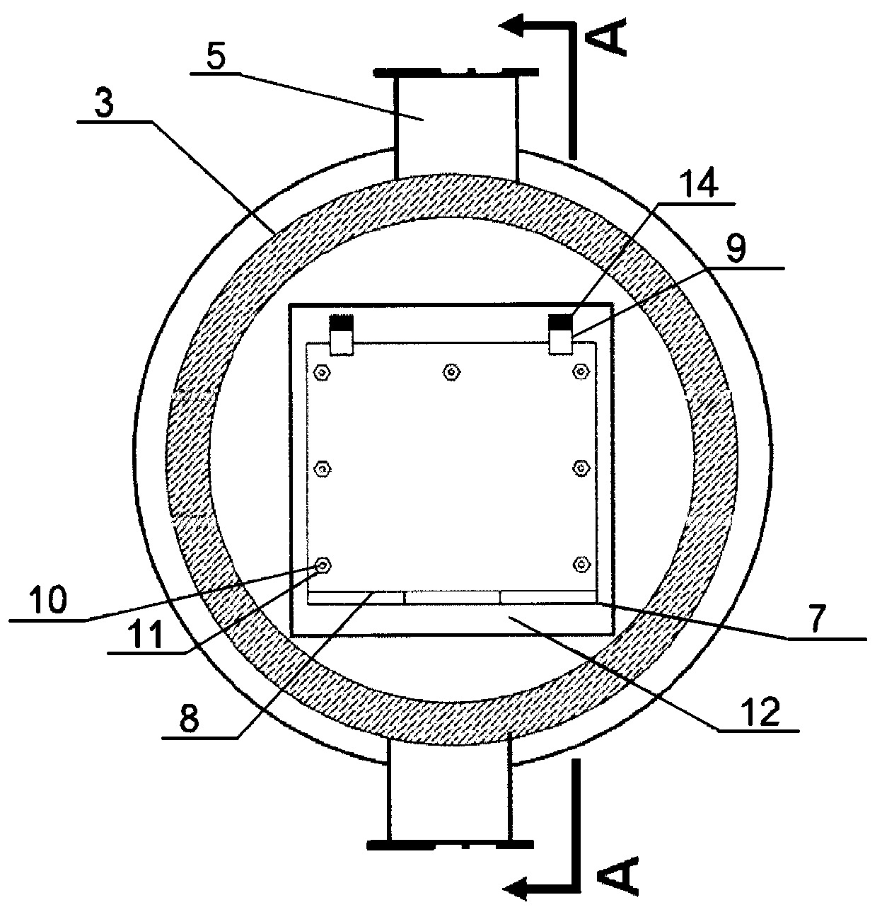
| dc.abstract.pl | Przedmiotem zgłoszenia jest klapa zwrotna studzienki zamocowana w wewnętrznym stropie (13) studzienki, w którym zamocowana jest rama (12) wyposażona w prostokątną klapę (8) przytwierdzoną do ramy (12) za pomocą zawiasu klapy (7). Klapa ta charakteryzuje się tym, że klapa (8) posiada na górnej powierzchni w pobliżu jednego z pozostałych boków wypust skierowany ku górze, który współpracuje z zaczepem blokującym (9) zamocowanym, do ramy (12) za pomocą zawiasu zaczepu (2), którego górna część jest wyprofilowana w kształcie wycinka koła skierowanego w stronę klapy (8). Pomiędzy zaczepem blokującym (9) a ramą (12) znajduje się element sprężysty (14). Do dolnej powierzchni klapy (8) zamocowana jest uszczelka, która zachodzi na ramę (12). Do dolnej powierzchni klapy (8) zamocowany jest pływak (6). | |
| dc.affiliation | POLITECHNIKA LUBELSKA | |
| dc.affiliation | POLITECHNIKA WARSZAWSKA | |
| dc.contributor.author | Kowalski, Dariusz | |
| dc.contributor.author | Kowalska, Beata | |
| dc.contributor.author | Kwietniewski, Marian | |
| dc.contributor.author | Hajdukiewicz, Marzena | |
| dc.date.accessioned | 2024-12-19T13:16:06Z | |
| dc.date.application | 2018-05-24 | |
| dc.date.available | 2024-12-19T13:16:06Z | |
| dc.date.issued | 2018 | |
| dc.date.publicationbup | 2018-11-19 | |
| dc.date.publicationwup | 2021-12-27 | |
| dc.description.classification | ||
| dc.description.classification | ||
| dc.description.classification | ||
| dc.description.classification | ||
| dc.identifier.bup | BUP 24/2018 | |
| dc.identifier.patent | Pat.239686 | |
| dc.identifier.publication | P.425717 | |
| dc.identifier.uri | https://hdl.handle.net/20.500.14629/17896 | |
| dc.identifier.weblink | https://ewyszukiwarka.pue.uprp.gov.pl/search/pwp-details/P.425717 | |
| dc.identifier.wup | WUP 39/2021 | |
| dc.language | polski | |
| dc.patent.country | PL | |
| dc.patent.name | Urząd Patentowy Rzeczypospolitej Polskiej | |
| dc.publisher | Urząd Patentowy Rzeczypospolitej Polskiej | |
| dc.subtype | Invention | |
| dc.title | Klapa zwrotna studzienki | |
| dc.title.alternative | Access chamber's non-return flap valve | |
| dc.type | Patent | |
| dspace.entity.type | Publication | |
| Files | ||
| Publication available in collections: |