Narzędzie do walcowania skośnego wyrobów typu kule
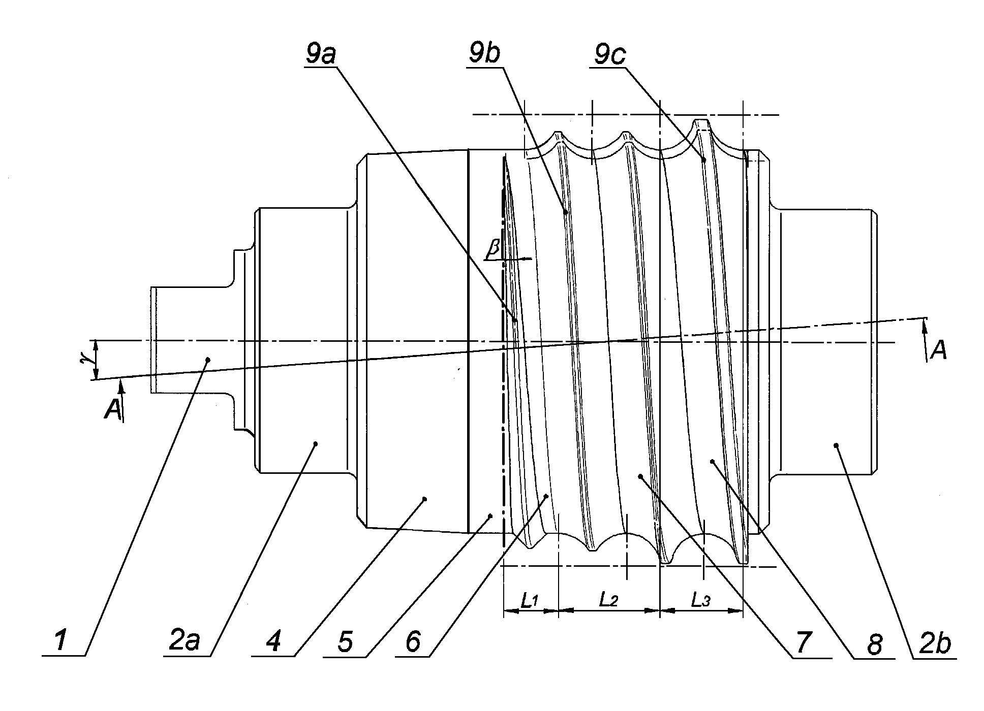
dc.abstract.pl | Narzędzie do walcowania skośnego wyrobów typu kule, składające się ze stopniowego walca, w skład którego wchodzi czop napędowy, czopy łożyskowe oraz walec roboczy, charakteryzuje się tym, że walec roboczy, od strony czopa napędowego, składa się ze strefy (4) wejściowej, która posiada stożkowy kształt, redukujący średnicę półfabrykatu, następnie za strefą (4) wejściową, na walcu roboczym, znajduje się walcowa strefa (5) kalibrująca i podająca półfabrykat, zaś za strefą (5) kalibrującą i podającą znajduje się strefa (6) wcinania o długości (L1), w której wykonane są śrubowe występy (9a) w kształcie klina o kącie rozwarcia (β) i określonym kącie pochylenia powierzchni bocznych, stopniowo zwiększających swoją wysokość i szerokość, zaś za strefą (6) wcinania znajduje się strefa (7) kształtowania o długości (L2), w której wykonane są śrubowe występy (9b), tworzące wykrój o kształcie walcowanych kul o promieniu równym kształtowanej kuli, a strefą (7) kształtowania znajduje się strefa (8) kalibrowania i rozcinania o długości (L3), w której śrubowe występy (9c), tworzące wykrój, zwiększają swoją wysokość i szerokość, rozdzielając walcowane kule, i kalibrują ich kształt, przy czym kąt (γ) wzniosu i skok linii śrubowej kształtowych występów (9a, 9b, 9c) w poszczególnych strefach jest stały. W strefie (6) wcinania, na powierzchniach bocznych śrubowych występów (9a) w kształcie klina, wykonane są nacięcia, które zwiększają stabilność procesu walcowania. | |
dc.affiliation | POLITECHNIKA LUBELSKA | |
dc.contributor.author | Pater, Zbigniew | |
dc.contributor.author | Tomczak, Janusz | |
dc.date.accessioned | 2024-12-19T13:08:22Z | |
dc.date.application | 2011-05-11 | |
dc.date.available | 2024-12-19T13:08:22Z | |
dc.date.issued | 2011 | |
dc.date.publicationbup | 2012-11-19 | |
dc.date.publicationwup | 2015-06-30 | |
dc.description.classification | ||
dc.description.classification | ||
dc.identifier.bup | BUP 24/2012 | |
dc.identifier.patent | Pat.219678 | |
dc.identifier.publication | P.394835 | |
dc.identifier.uri | https://hdl.handle.net/20.500.14629/17313 | |
dc.identifier.weblink | https://ewyszukiwarka.pue.uprp.gov.pl/search/pwp-details/P.394835 | |
dc.identifier.wup | WUP 06/2015 | |
dc.language | polski | |
dc.patent.country | PL | |
dc.patent.name | Urząd Patentowy Rzeczypospolitej Polskiej | |
dc.publisher | Urząd Patentowy Rzeczypospolitej Polskiej | |
dc.subtype | Invention | |
dc.title | Narzędzie do walcowania skośnego wyrobów typu kule | |
dc.title.alternative | Tool for oblique rolling of ball type products | |
dc.type | Patent | |
dspace.entity.type | Publication | |
Files | ||
Publication available in collections: |