Słup reklamowy
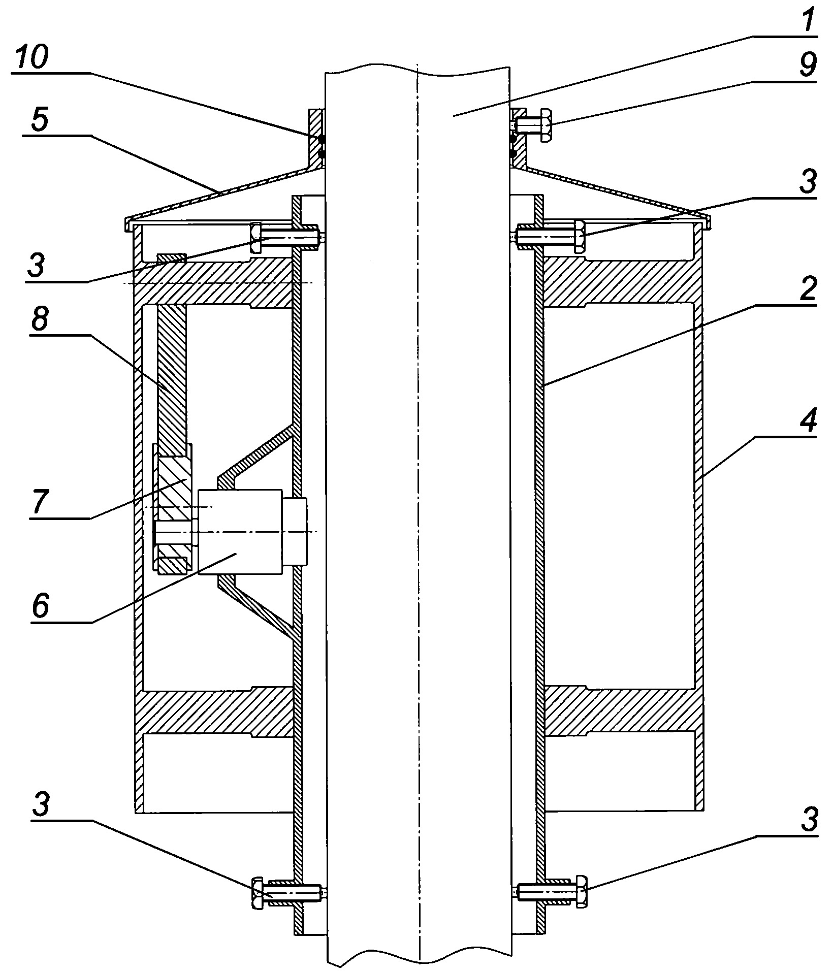
| dc.abstract.pl | Słup reklamowy posiadający silnik elektryczny (6) oraz tuleję mimośrodową (7) sprzężoną z korbowodem (8), charakteryzuje się tym, że słup (1) posiada na swojej powierzchni zewnętrznej tuleję wewnętrzną (2), która w dolnej i górnej części przymocowana jest rozłącznie do powierzchni zewnętrznej słupa (1) śrubami mocującymi (3), zaś do środkowej części tulei wewnętrznej (2) zamocowany jest silnik elektryczny (6) sprzężony tuleją mimośrodową (7) z korbowodem (8) przymocowanym do tulei zewnętrznej (4), przy czym w górnej części słupa (1) umocowany jest za pomocą śrub mocujących (9) okap (5), zaś pomiędzy okapem (5), a słupem (1) umieszczone są uszczelki (10). | |
| dc.affiliation | POLITECHNIKA LUBELSKA | |
| dc.contributor.author | Skowron, Łukasz | |
| dc.contributor.author | Gąsior, Marcin | |
| dc.contributor.author | Rzemieniak, Magdalena | |
| dc.contributor.author | Wyrwisz, Joanna | |
| dc.date.accessioned | 2024-12-19T13:19:47Z | |
| dc.date.application | 2019-12-20 | |
| dc.date.available | 2024-12-19T13:19:47Z | |
| dc.date.issued | 2019 | |
| dc.date.publicationbup | 2020-09-07 | |
| dc.date.publicationwup | 2021-04-06 | |
| dc.description.classification | E01F 9/60 | |
| dc.description.classification | G09F 11/02 | |
| dc.description.classification | G09F 15/00 | |
| dc.description.classification | A47F 5/02 | |
| dc.identifier.bup | BUP 19/2020 | |
| dc.identifier.patent | Ru.071842 | |
| dc.identifier.publication | W.128813 | |
| dc.identifier.uri | https://hdl.handle.net/20.500.14629/18166 | |
| dc.identifier.weblink | https://ewyszukiwarka.pue.uprp.gov.pl/search/pwp-details/W.128813 | |
| dc.identifier.wup | WUP 07/2021 | |
| dc.language | polski | |
| dc.patent.country | PL | |
| dc.patent.name | Urząd Patentowy Rzeczypospolitej Polskiej | |
| dc.publisher | Urząd Patentowy Rzeczypospolitej Polskiej | |
| dc.subtype | Utility model | |
| dc.title | Słup reklamowy | |
| dc.title.alternative | Advertising pole | |
| dc.type | Patent | |
| dspace.entity.type | Publication | |
| Files | ||
| Publication available in collections: |