Urządzenie do pomiaru sił magnetycznych, zwłaszcza pomiędzy magnesami cylindrycznymi
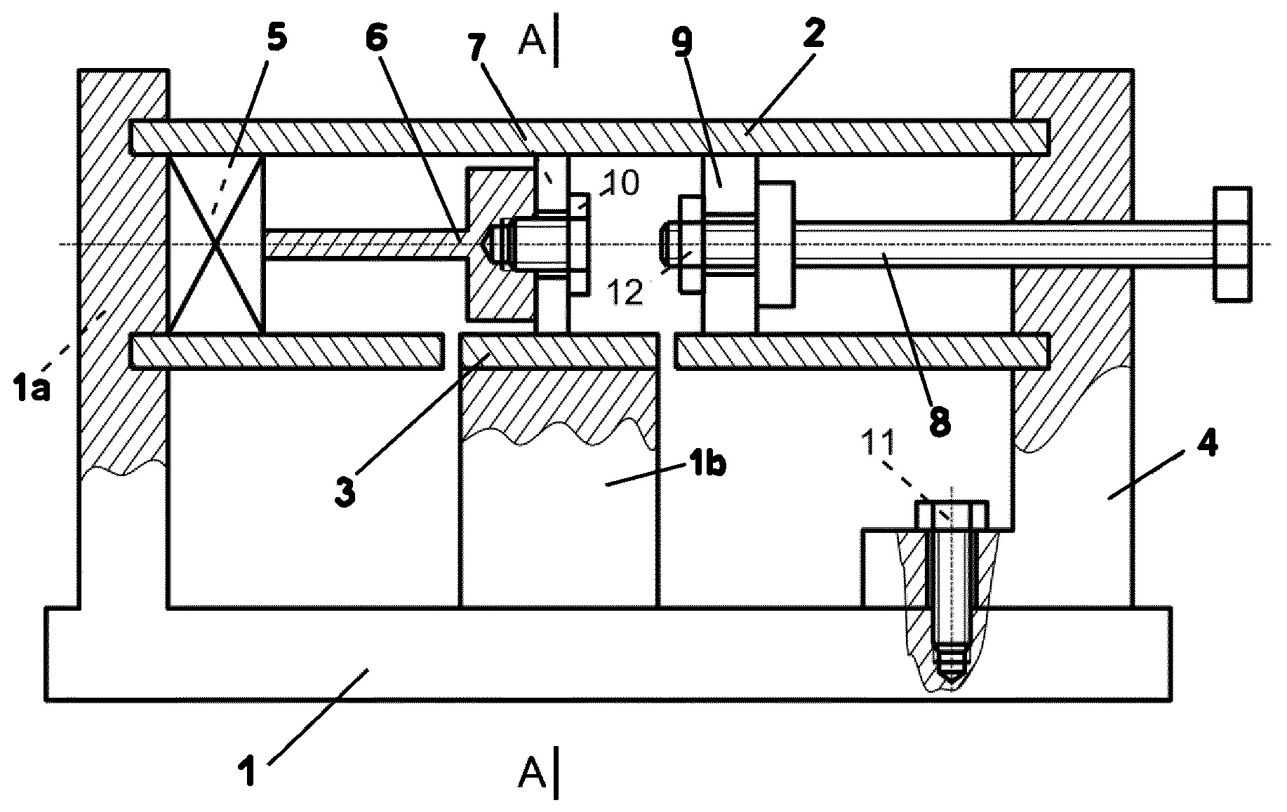
| dc.abstract.pl | Urządzenie do pomiaru siły magnetycznej, zwłaszcza magnesów cylindrycznych, posiadający obudowę i śruby charakteryzuje się tym, że składa się z podstawy (1) ułożonej horyzontalnie, na której pierwszym końcu znajduje się pierwszy wspornik (1a) z zamocowaną do niego horyzontalnie rurą (2) z materiału nieferromagnetycznego, zaś w środkowej części ścianki rury (2) od strony podstawy znajduje się kanał przelotowy, w którym umiejscowiony jest czujnik nacisku (3), zamocowana na podporze (1b) podstawy (1). Do drugiego końca podstawy (1) zamocowany jest rozłącznie drugi wspornik (4), do którego zamocowany jest drugi końcu rury (2). W rurze (2) od pierwszej strony znajduje się zamocowany do pierwszego wspornika czujnik siły (5), z zamocowanym do niego pierwszym końcem w sposób umożliwiający jego wychylenie trzpień (6) do którego drugiego końca zamocowany jest pierwszy magnes (7) spoczywający na czujniku nacisku (3). W drugim wsporniku (4) na wysokości wnętrza rury (2) znajduje się gwintowany otwór z wkręconą w niego pierwszą śrubą (8) znajdującą się w rurze (2), na końcu której zamocowany jest drugi magnes (9). | |
| dc.affiliation | POLITECHNIKA LUBELSKA | |
| dc.contributor.author | Kęcik, Krzysztof | |
| dc.contributor.author | Mitura, Andrzej | |
| dc.date.accessioned | 2024-12-19T13:12:29Z | |
| dc.date.application | 2021-06-01 | |
| dc.date.available | 2024-12-19T13:12:29Z | |
| dc.date.issued | 2021 | |
| dc.date.publicationbup | 2021-11-22 | |
| dc.date.publicationwup | 2022-11-28 | |
| dc.description.classification | ||
| dc.description.classification | ||
| dc.description.classification | ||
| dc.description.classification | ||
| dc.identifier.bup | BUP 34/2021 | |
| dc.identifier.patent | Pat.241708 | |
| dc.identifier.publication | P.438043 | |
| dc.identifier.uri | https://hdl.handle.net/20.500.14629/17624 | |
| dc.identifier.weblink | https://ewyszukiwarka.pue.uprp.gov.pl/search/pwp-details/P.438043 | |
| dc.identifier.wup | WUP 48/2022 | |
| dc.language | polski | |
| dc.patent.country | PL | |
| dc.patent.name | Urząd Patentowy Rzeczypospolitej Polskiej | |
| dc.publisher | Urząd Patentowy Rzeczypospolitej Polskiej | |
| dc.subtype | Invention | |
| dc.title | Urządzenie do pomiaru sił magnetycznych, zwłaszcza pomiędzy magnesami cylindrycznymi | |
| dc.title.alternative | Device for measuring magnetic forces, especially between cylindrical magnets | |
| dc.type | Patent | |
| dspace.entity.type | Publication | |
| Files | ||
| Publication available in collections: |