Wahadło do odzyskiwania energii elektrycznej
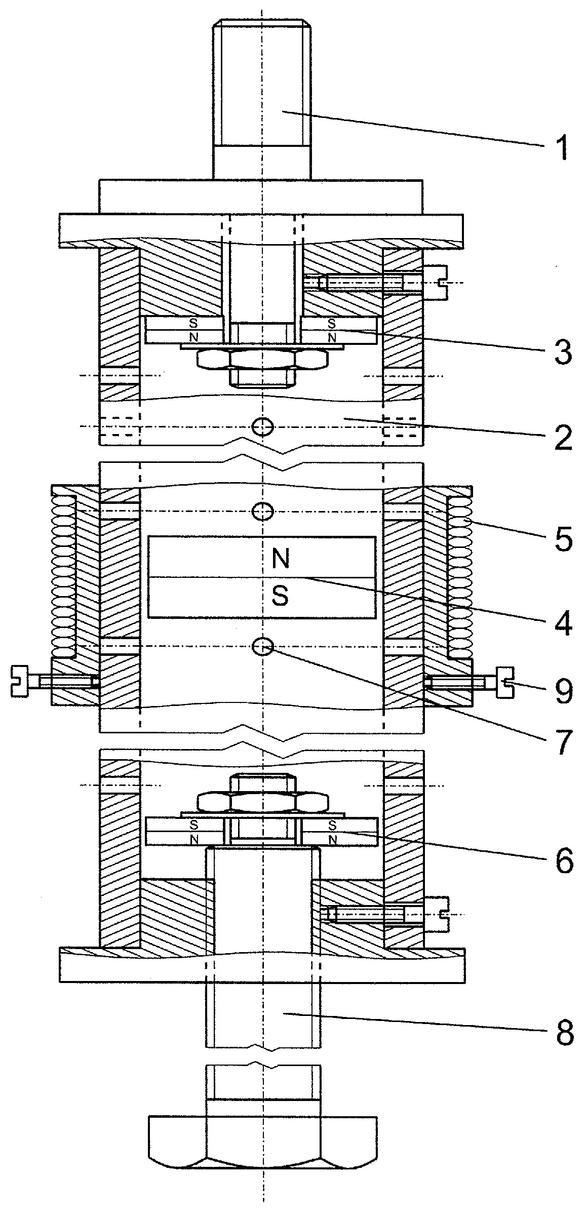
| dc.abstract.pl | Wahadło do odzyskiwania energii elektrycznej składające się z uchwytu charakteryzuje się tym, że do uchwytu (1) wykonanego z materiału obojętnie magnetycznego, zamocowana jest rura (2) wykonana z materiału obojętnie magnetycznego, w której górnym końcu zamocowany jest górny magnes stały (3), zaś wewnątrz rury (2), w jej środkowej części, znajduje się magnes ruchomy (4), którego górny biegun magnetyczny jest tak samo zorientowany jak dolny biegun magnetyczny górnego magnesu stałego (3), natomiast do zewnętrznej powierzchni rury (2) zamocowana jest cewka indukcyjna (5), w sposób umożliwiający zmianę jej położenia, z kolei do dolnej części rury (2) zamocowany jest w sposób umożliwiający jego przemieszczanie wzdłuż osi rury (2) dolny magnes stały (6), którego górny biegun magnetyczny jest tak samo zorientowany jak dolny biegun magnetyczny magnesu ruchomego (4), przy czym na powierzchni rury (2) znajduje się co najmniej jeden otwór odpowietrzający (7). | |
| dc.affiliation | POLITECHNIKA LUBELSKA | |
| dc.contributor.author | Kęcik, Krzysztof | |
| dc.contributor.author | Mitura, Andrzej | |
| dc.contributor.author | Warmiński, Jerzy | |
| dc.contributor.author | Lenci, Stefano | |
| dc.date.accessioned | 2024-12-19T13:11:00Z | |
| dc.date.application | 2017-03-03 | |
| dc.date.available | 2024-12-19T13:11:00Z | |
| dc.date.issued | 2017 | |
| dc.date.publicationbup | 2018-09-10 | |
| dc.date.publicationwup | 2019-04-30 | |
| dc.description.classification | H02K 35/02 20060101AFI20180703BHPL | |
| dc.description.classification | F16F 15/03 20060101ALI20180703BHPL | |
| dc.identifier.bup | BUP 19/2018 | |
| dc.identifier.patent | Pat.231819 | |
| dc.identifier.publication | P.420720 | |
| dc.identifier.uri | https://hdl.handle.net/20.500.14629/17512 | |
| dc.identifier.weblink | https://ewyszukiwarka.pue.uprp.gov.pl/search/pwp-details/P.420720 | |
| dc.identifier.wup | WUP 04/2019 | |
| dc.language | polski | |
| dc.patent.country | PL | |
| dc.patent.name | Urząd Patentowy Rzeczypospolitej Polskiej | |
| dc.publisher | Urząd Patentowy Rzeczypospolitej Polskiej | |
| dc.subtype | Invention | |
| dc.title | Wahadło do odzyskiwania energii elektrycznej | |
| dc.title.alternative | Pendulum for recovery of electrical energy | |
| dc.type | Patent | |
| dspace.entity.type | Publication | |
| Files | ||
| Publication available in collections: |