Proteza ucha środkowego o zmiennej długości
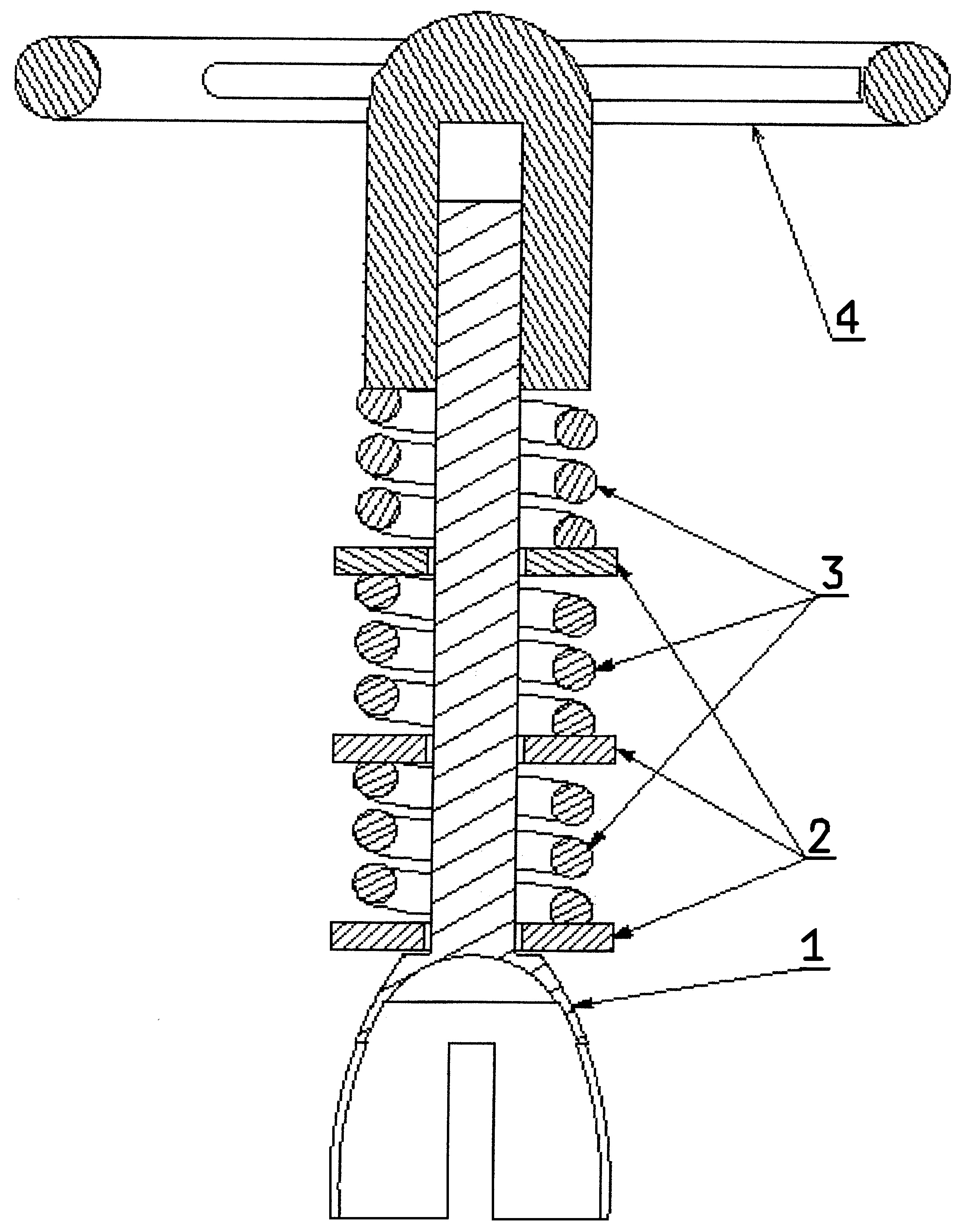
| dc.abstract.pl | Proteza ucha środkowego o zmiennej długości charakteryzuje się tym, że składa się z elementów (3) sprężystych, które ułożone są na stopce z prętem przemiennie z przekładkami (2) izolującymi ciepło, przy czym pręt stopki połączony jest suwliwie z elementem (4) mocującym protezę do błony bębenkowej. Elementy (3) sprężyste wykonane są z materiału z pamięcią kształtu. | |
| dc.affiliation | POLITECHNIKA LUBELSKA | |
| dc.affiliation | UNIWERSYTET MEDYCZNY W LUBLINIE | |
| dc.contributor.author | Rusinek, Rafał | |
| dc.contributor.author | Warmiński, Jerzy | |
| dc.contributor.author | Szymański, Marcin | |
| dc.contributor.author | Kozik, Krzysztof | |
| dc.contributor.author | Kęcik, Krzysztof | |
| dc.date.accessioned | 2024-12-19T13:06:30Z | |
| dc.date.application | 2015-04-27 | |
| dc.date.available | 2024-12-19T13:06:30Z | |
| dc.date.issued | 2015 | |
| dc.date.publicationbup | 2016-11-07 | |
| dc.date.publicationwup | 2017-11-30 | |
| dc.description.classification | A61F 2/18 20060101AFI20160927BHPL | |
| dc.identifier.bup | BUP 23/2016 | |
| dc.identifier.patent | Pat.227221 | |
| dc.identifier.publication | P.412144 | |
| dc.identifier.uri | https://hdl.handle.net/20.500.14629/17172 | |
| dc.identifier.weblink | https://ewyszukiwarka.pue.uprp.gov.pl/search/pwp-details/P.412144 | |
| dc.identifier.wup | WUP 11/2017 | |
| dc.language | polski | |
| dc.patent.country | PL | |
| dc.patent.name | Urząd Patentowy Rzeczypospolitej Polskiej | |
| dc.publisher | Urząd Patentowy Rzeczypospolitej Polskiej | |
| dc.subtype | Invention | |
| dc.title | Proteza ucha środkowego o zmiennej długości | |
| dc.title.alternative | Variable length middle ear prosthesis | |
| dc.type | Patent | |
| dspace.entity.type | Publication | |
| Files | ||
| Publication available in collections: |