Sposób zwiększenia powierzchni aktywnej złącza p-n cienkowarstwowych baterii słonecznych wytwarzanych metodą sputeringu plazmowego
Alternative title
Method for increasing the active surface of the p-n junction thin-film solar cells produced by plasma sputtering
Type
Patent
Subtype
Invention
Authors/Creators
Publisher
Urząd Patentowy Rzeczypospolitej Polskiej
Date
2012
Abstract PL
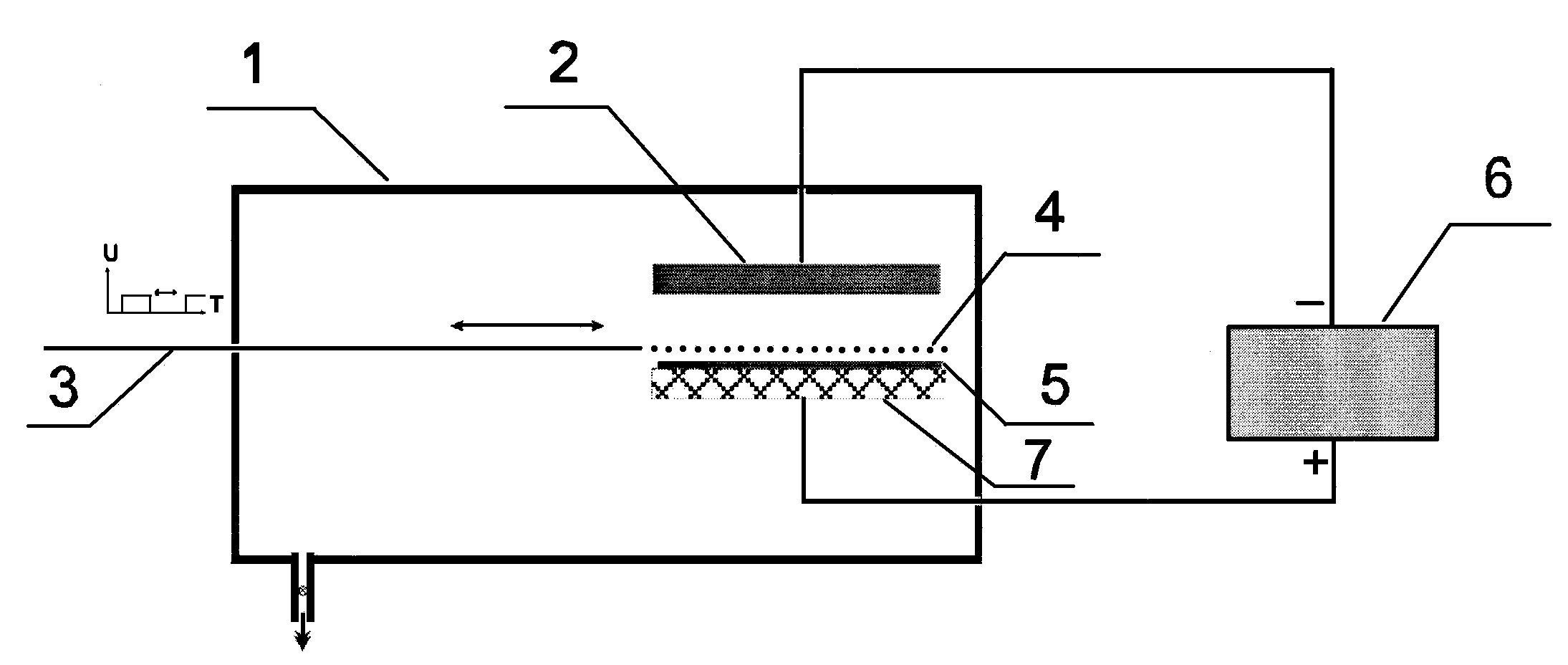
Wynalazek dotyczy sposobu zwiększenia powierzchni aktywnej złącza p-n cienkowarstwowych baterii słonecznych wytwarzanych metodą sputeringu plazmowego, który polega na wsunięciu przy końcowym etapie formowania z rozpylanego materiału katody (2) bazy typu p półprzewodnikowego fotoogniwa, równolegle nad jej powierzchnię (5) przesłony (4) ze złotej siatki, zasilanej impulsowo poprzez elektrodę (3) napięciem o regulowanym współczynniku wypełnienia a następnie, po zakończeniu procesu tworzenia bazy, wysunięciu jej znad powierzchni warstwy i zamienieniu rozpylanego materiału katody na półprzewodnik typu n, stanowiący emiter fotoogniwa, przy czym katoda (2) i anoda (7) umieszczone są w komorze próżniowej (1) i zasilane są wysokim napięciem za pomocą zasilacza (6).
Date of filing with the Polish Patent Office or with the competent office abroad
2012-01-23
Date of publication in ‘WUP’ or equivalent foreign bulletin
2015-03-31
Exclusive right number
Pat.219163
Olchowik, J. M. (2012). Sposób zwiększenia powierzchni aktywnej złącza p-n cienkowarstwowych baterii słonecznych wytwarzanych metodą sputeringu plazmowego. Urząd Patentowy Rzeczypospolitej Polskiej. https://hdl.handle.net/20.500.14629/16908

Loading...
Files
miniaturka.jpg
JPG 135.8 KB
Licence
Accessibility issue?Request a WCAG-compliant file
Publication available in collections: