Sposób kucia półfabrykatu w przyrządzie kuźniczym na prasie hydraulicznej, zwłaszcza do wytwarzania korbowodu samochodowego
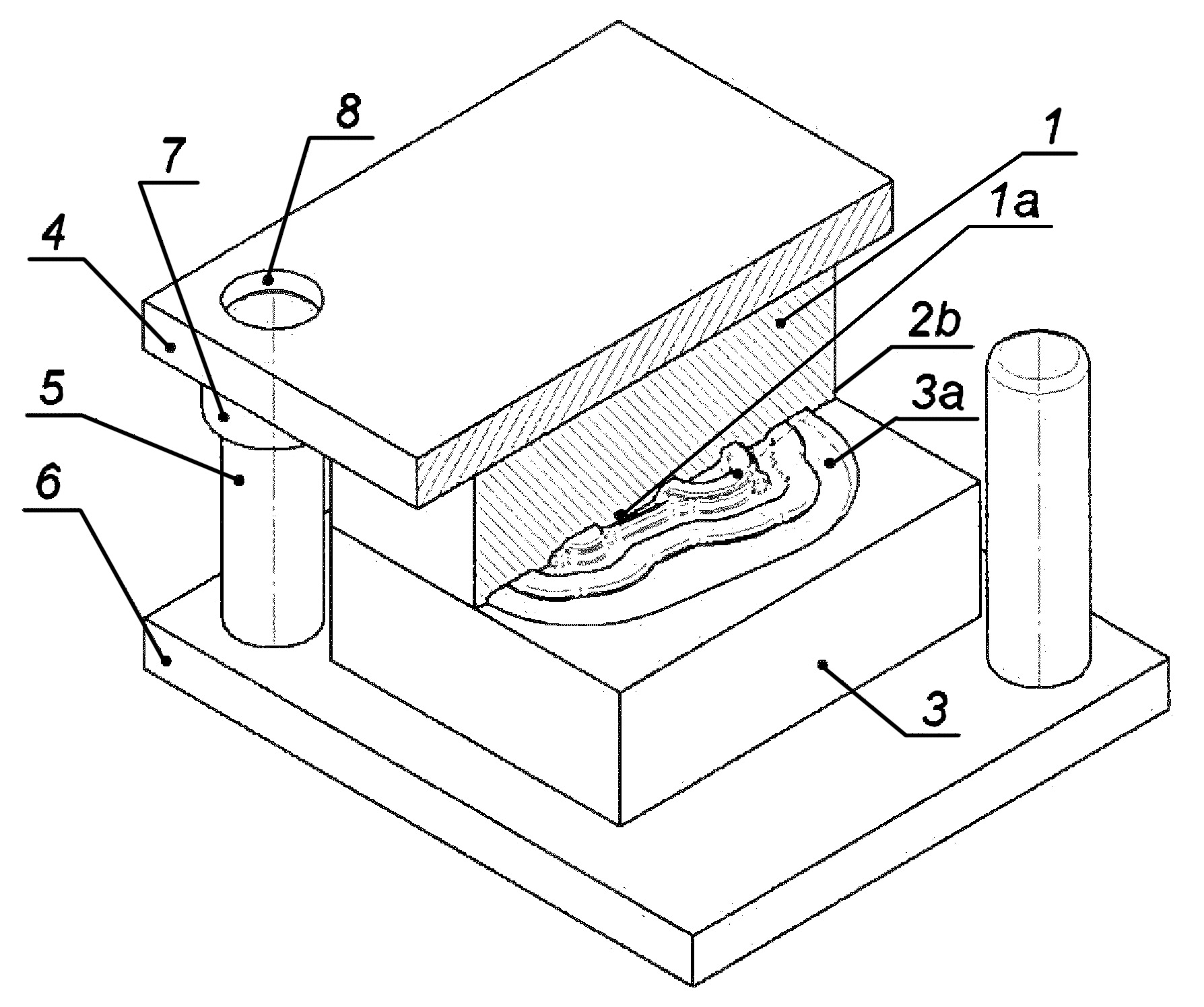
| dc.abstract.pl | Sposób kucia półfabrykatu w przyrządzie kuźniczym na prasie hydraulicznej, zwłaszcza do wytwarzania korbowodu samochodowego polega na tym, że wkładki matrycowe górną (1) i dolną (3) posiadające w części środkowej jednakowe wykroje robocze (1a i 3a) montuje się do płyt oporowych górnej (4) i dolnej (6) w przyrządzie kuźniczym na prasie hydraulicznej o nacisku 3000 kN i nagrzewa się przy użyciu palników gazowych do temperatury 250°C, po czym materiał wsadowy w kształcie przedkuwki kształtowej odlewanej w formach piaskowych z mniej plastycznych stopów aluminium z grupy aluminium-cynk-magnez nagrzewa się w piecu w zakresie temperatur 460 - 500°C, korzystnie 480 °C, w czasie do 40 minut, następnie nagrzany materiał wsadowy umieszcza się w wykroju roboczym (3a) wkładki matrycowej dolnej (3), po czym naciska się prasą hydrauliczną płytę oporową górną (4) posiadającą dwa jednakowe okrągłe przelotowe otwory prowadzące (8) i dwie jednakowe tuleje prowadzące (7) za pomocą dwóch jednakowych kołków prowadzących (5) znajdujących się na płycie oporowej dolnej (6) i wprawia się wkładkę matrycową górną (1) przyrządu kuźniczego w ruch postępowy w dół z prędkością do 15 mm/s w kierunku wkładki matrycowej dolnej (3) i zgniata się materiał wsadowy wykrojem roboczym (1a) wkładki matrycowej górnej (1) i wykrojem roboczym (3a) wkładki matrycowej dolnej (3) i kształtuje się półfabrykat (2b) z mniejszym stopniem przekucia. | |
| dc.affiliation | POLITECHNIKA LUBELSKA | |
| dc.contributor.author | Dziubińska, Anna | |
| dc.contributor.author | Winiarski, Grzegorz | |
| dc.contributor.author | Surdacki, Piotr | |
| dc.contributor.author | Majerski, Krzysztof | |
| dc.contributor.author | Siemionek, Ewa | |
| dc.contributor.author | Szucki, Michał | |
| dc.date.accessioned | 2024-12-19T13:17:46Z | |
| dc.date.application | 2019-11-14 | |
| dc.date.available | 2024-12-19T13:17:46Z | |
| dc.date.issued | 2019 | |
| dc.date.publicationbup | 2020-09-07 | |
| dc.date.publicationwup | 2021-05-31 | |
| dc.description.classification | ||
| dc.description.classification | ||
| dc.description.classification | ||
| dc.description.classification | ||
| dc.identifier.bup | BUP 19/2020 | |
| dc.identifier.patent | Pat.237777 | |
| dc.identifier.publication | P.431791 | |
| dc.identifier.uri | https://hdl.handle.net/20.500.14629/18020 | |
| dc.identifier.weblink | https://ewyszukiwarka.pue.uprp.gov.pl/search/pwp-details/P.431791 | |
| dc.identifier.wup | WUP 11/2021 | |
| dc.language | polski | |
| dc.patent.country | PL | |
| dc.patent.name | Urząd Patentowy Rzeczypospolitej Polskiej | |
| dc.publisher | Urząd Patentowy Rzeczypospolitej Polskiej | |
| dc.subtype | Invention | |
| dc.title | Sposób kucia półfabrykatu w przyrządzie kuźniczym na prasie hydraulicznej, zwłaszcza do wytwarzania korbowodu samochodowego | |
| dc.title.alternative | Method of forging a semi-finished product in a forging device on a hydraulic press, in particular for producing a car connecting rod | |
| dc.type | Patent | |
| dspace.entity.type | Publication | |
| Files | ||
| Publication available in collections: |