Urządzenie do nagniatania profilu o przekroju kwadratowym
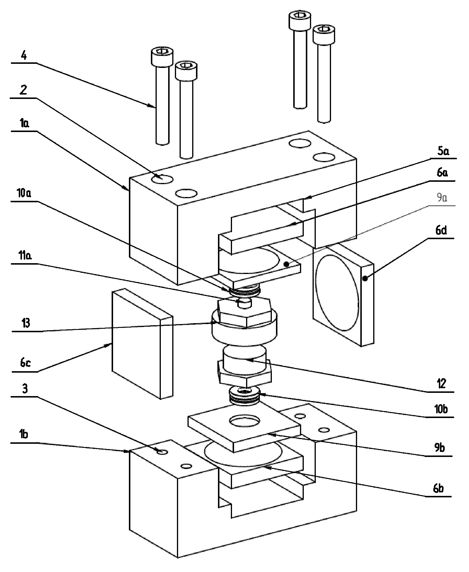
| dc.abstract.pl | Urządzenie do nagniatania profilu o przekroju kwadratowym charakteryzuje się tym, że posiada jednakowe obudowy górną (1a) i dolną (1b) w kształcie litery „U”, śruby (4), matrycę górną (6a), matrycę dolną (6b) i matryce boczne (6c, 6d). Obudowa dolna (1b) jest odwrócona względem obudowy górnej (1a). Obudowa górna (1a) posiada w narożach przelotowe otwory (2), a obudowa dolna (1b) posiada po dwa nieprzelotowe otwory gwintowane (3) na górnych ściankach obudowy dolnej (1b) pokrywające się z przelotowymi otworami (2) obudowy górnej (1a). Obudowa górna (1a) posiada od wewnętrznej strony jednakowe wybrania (5a), a obudowa dolna (1b) posiada od wewnętrznej strony jednakowe wybrania. W dolnej części obudowy dolnej (1b) znajduje się matryca dolna (6b) z wybraniem, zaś na matrycy dolnej (6b) umieszczony jest profil o przekroju kwadratowym. Wewnątrz profilu o przekroju kwadratowym znajduje się rozpierak składający się z kwadratowej płytki dolnej (9b) z okrągłym wybraniem w górnej części, w którym zamocowane jest poprzez wciśnięcie łożysko dolne (10b). W łożysko dolne (10b) zamocowana jest poprzez wciśnięcie za pomocą bolca (11a) śruba (12) z łbem sześciokątnym, na którą nakręcona jest nieprzelotowa nakrętka z łbem sześciokątnym. Na górnej powierzchni nakrętki zamocowany jest na stałe bolec, na którym zamocowane jest poprzez wciśnięcie łożysko górne (10a). | |
| dc.affiliation | POLITECHNIKA LUBELSKA | |
| dc.contributor.author | Gajewski, Jakub | |
| dc.contributor.author | Rogala, Michał | |
| dc.date.accessioned | 2024-12-19T13:16:26Z | |
| dc.date.application | 2021-11-17 | |
| dc.date.available | 2024-12-19T13:16:26Z | |
| dc.date.issued | 2021 | |
| dc.date.publicationbup | 2023-05-22 | |
| dc.date.publicationwup | 2024-05-20 | |
| dc.description.classification | ||
| dc.description.classification | ||
| dc.identifier.bup | BUP 21/2023 | |
| dc.identifier.patent | Pat.245117 | |
| dc.identifier.publication | P.439530 | |
| dc.identifier.uri | https://hdl.handle.net/20.500.14629/17921 | |
| dc.identifier.weblink | https://ewyszukiwarka.pue.uprp.gov.pl/search/pwp-details/P.439530 | |
| dc.identifier.wup | WUP 21/2024 | |
| dc.language | polski | |
| dc.patent.country | PL | |
| dc.patent.name | Urząd Patentowy Rzeczypospolitej Polskiej | |
| dc.publisher | Urząd Patentowy Rzeczypospolitej Polskiej | |
| dc.subtype | Invention | |
| dc.title | Urządzenie do nagniatania profilu o przekroju kwadratowym | |
| dc.title.alternative | Device for burnishing a profile with a square section | |
| dc.type | Patent | |
| dspace.entity.type | Publication | |
| Files | ||
| Publication available in collections: |