Sposób i układ do wykorzystania ciepła z dolnego źródła ciepła obiegu silnikowego
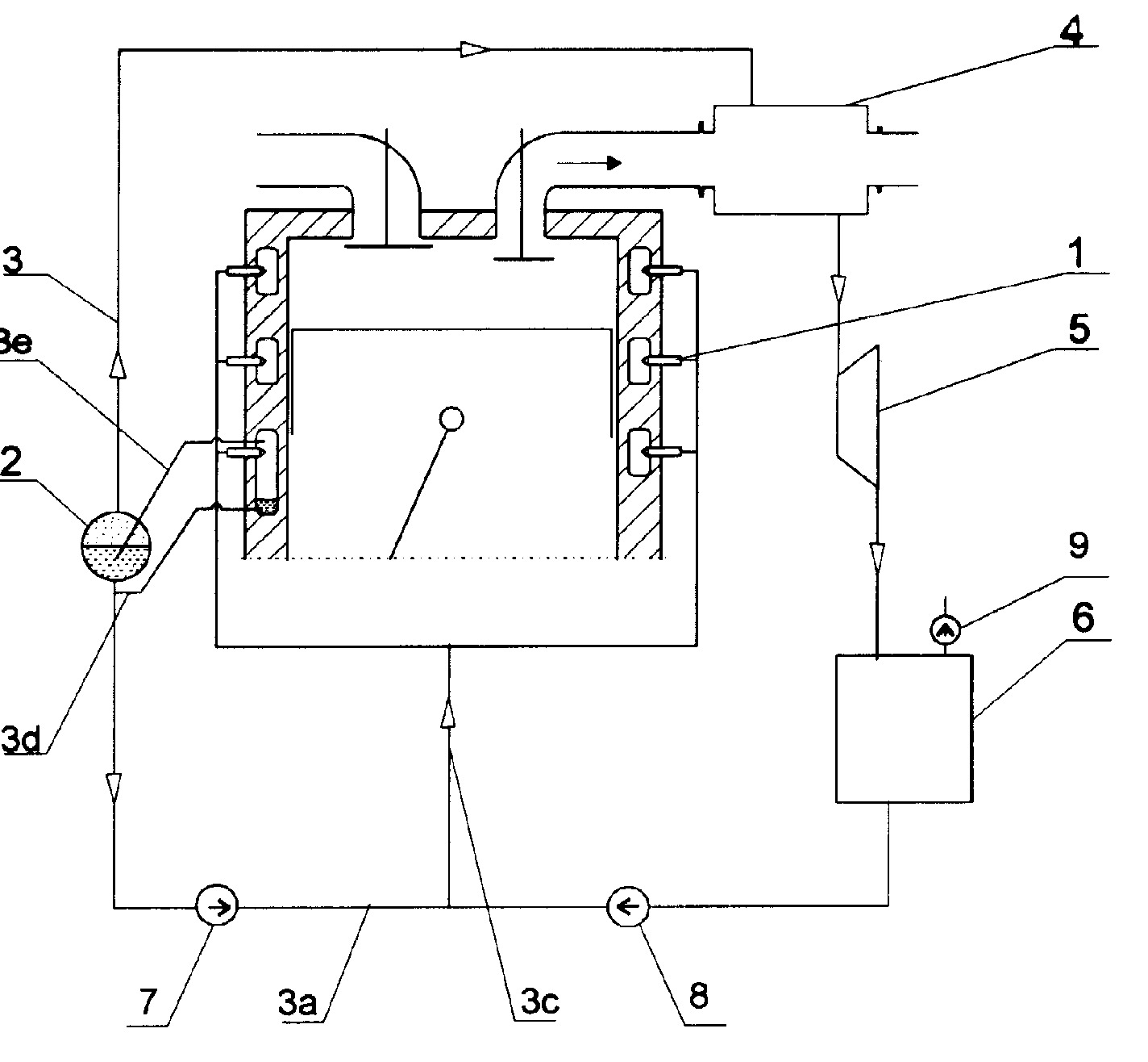
| dc.abstract.pl | Sposób i układ wykorzystania ciepła z dolnego źródła ciepła obiegu silnikowego polega na tym, że poprzez zamontowane w kanałach chłodzących bloku i głowicy silnika wtryskiwacze (1) podaje się na ścianki, pod ciśnieniem 1-2 barów, korzystnie 1,5 bara cieczowe chłodziwo, które po odparowaniu w temperaturze 100-120°C odprowadzane jest do separatora (2), z którego pary suche nasycone przegrzewa się w przegrzewaczu (4) zabudowanym na kolektorze spalin do temperatury 300-550°C i ciśnienia 1-9 barów, a następnie odbiera się od nich energię, korzystnie w turbinie (5), gdzie rozpręża się je do ciśnienia w granicach 1,0-0,03 bara, skrapla w chłodnicy (6), a następnie dołącza do obiegu chłodzącego, przy czym fazę ciekłą chłodziwa z separatora (2) doprowadza się do obiegu chłodzącego. | |
| dc.affiliation | POLITECHNIKA LUBELSKA | |
| dc.contributor.author | Nakonieczny, Krzysztof | |
| dc.contributor.author | Laskowski, Stefan | |
| dc.date.accessioned | 2024-12-19T13:09:53Z | |
| dc.date.application | 1999-03-01 | |
| dc.date.available | 2024-12-19T13:09:53Z | |
| dc.date.issued | 1999 | |
| dc.date.publicationbup | 2000-09-11 | |
| dc.date.publicationwup | 2007-08-31 | |
| dc.description.classification | F01P 9/02 20060101AFI20070214BHPL | |
| dc.identifier.bup | BUP 19/2000 | |
| dc.identifier.patent | Pat.195055 | |
| dc.identifier.publication | P.331722 | |
| dc.identifier.uri | https://hdl.handle.net/20.500.14629/17428 | |
| dc.identifier.weblink | https://ewyszukiwarka.pue.uprp.gov.pl/search/pwp-details/P.331722 | |
| dc.identifier.wup | WUP 08/2007 | |
| dc.language | polski | |
| dc.patent.country | PL | |
| dc.patent.name | Urząd Patentowy Rzeczypospolitej Polskiej | |
| dc.publisher | Urząd Patentowy Rzeczypospolitej Polskiej | |
| dc.subtype | Invention | |
| dc.title | Sposób i układ do wykorzystania ciepła z dolnego źródła ciepła obiegu silnikowego | |
| dc.title.alternative | Method of and system for utilising heat from lower heat source of an engine cycle | |
| dc.type | Patent | |
| dspace.entity.type | Publication | |
| Files | ||
| Publication available in collections: |